LEMON Manuals: Even more car manuals for everyone: 1960-2025
Home >> Cadillac >> 2011 >> CTS Base, 2D Coupe, AWD >> Repair and Diagnosis >> Quick Lookups >> Wiring Diagrams >> Wiring Systems And Power Management - Component Connector End Views - Memory Seat Module Through Rear Window Defogger Relay >> Component Connector End Views >> Rear Window Washer Fluid Pump Relay (Wagon) Connector End View
April 5, 2026: LEMON Manuals is launched! Read the announcement.

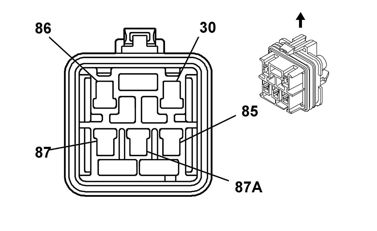
Rear Window Washer Fluid Pump Relay (Wagon) Connector End View

Fig 1: Rear Window Washer Fluid Pump Relay (Wagon) Connector End View
GM535919Courtesy of GENERAL MOTORS CORP.
Rear Window Washer Fluid Pump Relay (Wagon)

Pin Wire Circuit Function
30 1 D-GN 392 Rear Window Washer Pump Control
85 0.8 D-BU 298 Rear Window Washer Pump Control
86 0.35 L-GN 2270 Rear Window Washer Relay Control
87 0.8 RD/WH 5040 Battery Positive Voltage
87A 0.8 BK 1050 Ground
0.8 BK 1050 Ground
Connector Part Information 
  • Harness Type: Engine
  • OEM Connector: 12110539
  • Service Connector: 15306045
  • Description: 5-Way F Metri-Pack 280 Series, Flexlock (BK)
Terminal Part Information 
  • Pins: 30, 87, 87A
  • Terminated Lead: Pending
  • Release Tool: J-38125-553
  • Diagnostic Test Probe: J-35616-4A (PU)
  • Terminal/Tray: 12110845/4
  • Core/Insulation Crimp: Not Available
  • Pin: 85, 86
  • Terminated Lead: Pending
  • Release Tool: J-38125-553
  • Diagnostic Test Probe: J-35616-4A (PU)
  • Terminal/Tray: 12110847/4
  • Core/Insulation Crimp: E/5