LEMON Manuals: Even more car manuals for everyone: 1960-2025
Home >> Cadillac >> 2011 >> Escalade EXT >> Repair and Diagnosis (Single Page) >> Electrical >> Body Electrical >> Wiring Systems And Power Management - Component Connector End Views - A/C Compressor Through Electronic Power Steering Module X1 >> Component Connector End Views >> Body Control Module (BCM) X3
April 5, 2026: LEMON Manuals is launched! Read the announcement.

Body Control Module (BCM) X3

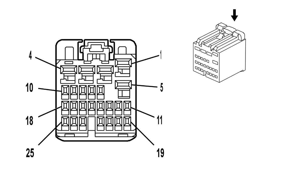
Fig 1: Body Control Module (BCM) X3 Connector End View
GM1664498Courtesy of GENERAL MOTORS CORP.
Body Control Module (BCM) X3

Pin Wire Circuit Function
1 - - Not Used
2 0.5 RD/WH 2140 Battery Positive Voltage
3 0.5 RD/WH 3840 Battery Positive Voltage
4 - - Not Used
5 1 BK/WH 1851 Ground
6-7 - - Not Used
8 0.5 TN/BK 2500 High Speed GMLAN Serial Data Bus +
9 0.5 TN 2501 High Speed GMLAN Serial Data Bus -
10 0.35 D-GN 5060 Low Speed GMLAN Serial Data
11 0.35 D-GN 44 Instrument Panel Lamps Dimmer Switch Signal
12 0.35 OG/WH 812 12-Volt Reference or I/P Dimming Voltage Reference
13 0.35 PU 7062 Brake Pedal Switch Normally Closed Contact Signal
14-15 - - Not Used
16 0.5 TN/BK 2500 High Speed GMLAN Serial Data Bus +
17 0.5 TN 2501 High Speed GMLAN Serial Data Bus -
18 0.35 YE 6817 LED Backlight Dimming Control
19 0.35 L-BU 5986 Serial Data Communication Enable
20 - - Not Used
21 0.35 OG 192 Front Fog Lamp Switch Signal (T96)
0.5 D-BU/YE 6841 Upfitter Provision (PPV or 5W4)
22 0.35 L-GN/WH 7158 Cruise Control Indicator Dimming Signal
23-24 - - Not Used
25 0.35 PU/WH 6816 Indicator Dimming Control
Connector Part Information
  • Harness Type: Instrument Panel
  • OEM Connector: 15482791
  • Service Connector: 88988840
  • Description: 25-Way F HIT Series (L-BU)
Terminal Part Information
  • Pins: 2, 3, 5
  • Terminated Lead: 13327199
  • Release Tool: J-38125-12A
  • Diagnostic Test Probe: J-35616-35 (VT)
  • Terminal/Tray: SNAC-A061T-M2.8/20
  • Core/Insulation Crimp: Pins 2, 3 - E/A
  • Core/Insulation Crimp: Pins 5 - C/A
  • Pins: 8-13, 16-19, 21, 22, 25
  • Terminated Lead: 13575870
  • Release Tool: J-38125-12A
  • Diagnostic Test Probe: J-35616-64B (L-BU)
  • Terminal/Tray: SNAC3-A021T-M0.64/20
  • Core/Insulation Crimp: J/J