LEMON Manuals: Even more car manuals for everyone: 1960-2025
Home >> Cadillac >> 2011 >> Escalade EXT >> Repair and Diagnosis (Single Page) >> Electrical >> Body Electrical >> Wiring Systems And Power Management - Component Connector End Views - Electronic Steering Control Module X2 Through Memory Seat Module >> Component Connector End Views >> Engine Control Module (ECM) X1 (HP2)
April 5, 2026: LEMON Manuals is launched! Read the announcement.

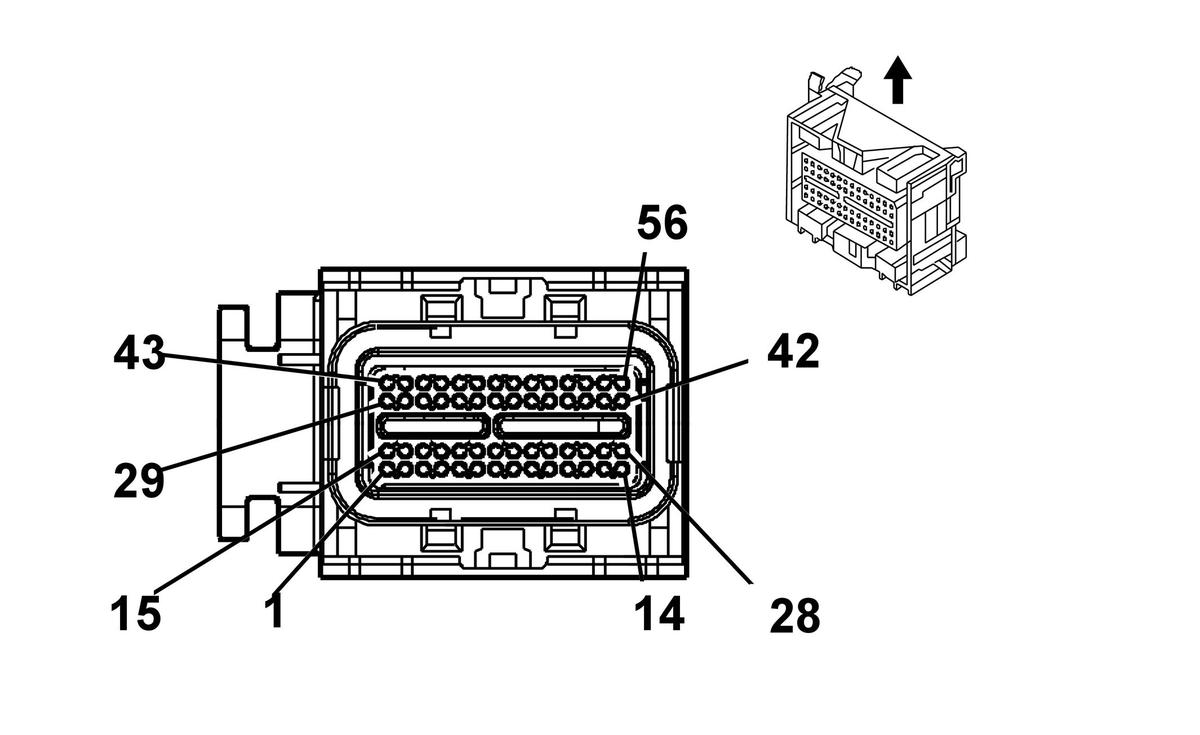
Engine Control Module (ECM) X1 (HP2)

Fig 1: Engine Control Module (ECM) X1 (HP2) Connector End View
GM784851Courtesy of GENERAL MOTORS CORP.
Engine Control Module (ECM) X1 (HP2)

Pin Wire Circuit Function
1-2 - - Not Used
3 0.5 PU 5531 Hood Switch Signal
4-6 - - Not Used
7 0.5 L-BU/WH 6311 Brake Pedal Switch Signal
8 0.5 PK/BK 109 Hood Ajar Switch Signal
9 0.35 TN/BK 6049 Low Reference
10-11 - - Not Used
12 0.35 BN/WH 419 Malfunction Indicator Lamp (MIL) Control
13 0.35 D-GN/WH 465 Fuel Pump Control Module Enable
14-17 - - Not Used
18 0.5 D-BU 5985 Serial Data Wake-Up Signal
19 0.5 PK 439 Ignition Voltage
20 0.5 RD/WH 440 Battery Positive Voltage
21-32 - - Not Used
33 0.35 WH/BK 1164 5-Volt Reference 2
34 0.35 GY 2709 5-Volt Reference 1
35 0.35 TN 1274 5-Volt Reference 1
36 0.35 BN 1271 Low Reference
37 0.35 PU 1272 Low Reference
38-39 - - Not Used
40 0.35 YE 5991 Powertrain Relay Coil Control
41 0.35 PU 5128 High Speed Cooling Fan Relay Control
42-43 - - Not Used
44 0.35 PU 1589 Fuel Level Sensor Signal
45-46 - - Not Used
47 0.35 D-BU 1161 Accelerator Pedal Position Sensor 1 Signal
48 0.35 D-GN 890 Fuel Tank Pressure Sensor Signal
49 0.35 L-BU 1162 Accelerator Pedal Position Sensor 2 Signal
50-53 - - Not Used
54 0.35 D-GN 335 Medium Speed Cooling Fan Relay Control
55 0.5 WH 1310 EVAP Canister Vent Solenoid Control
56 - - Not Used
Connector Part Information
  • Harness Type: Engine
  • OEM Connector: 13510837
  • Service Connector: 88988373
  • Description: 56-Way F MX123 Series Sealed (BU Encased in BK)
Terminal Part Information
  • Pins: 3, 7, 8, 18-20, 55
  • Terminated Lead: 13575575
  • Release Tool: J-38125-213
  • Diagnostic Test Probe: J-35616-64B (L-BU)
  • Terminal/Tray: 33467-0005/23
  • Core/Insulation Crimp: J/J
  • Pins: 9, 12, 13, 33-37, 40, 41, 44, 47-49, 54
  • Terminated Lead: 13575811
  • Release Tool: J-38125-213
  • Diagnostic Test Probe: J-35616-64B (L-BU)
  • Terminal/Tray: 33467-0003/23
  • Core/Insulation Crimp: H/H