LEMON Manuals: Even more car manuals for everyone: 1960-2025
Home >> Cadillac >> 2011 >> Escalade EXT >> Repair and Diagnosis (Single Page) >> Electrical >> Body Electrical >> Wiring Systems And Power Management - Component Connector End Views - Electronic Steering Control Module X2 Through Memory Seat Module >> Component Connector End Views >> Heated Seat Control Module X2 (KA1 or W03)
April 5, 2026: LEMON Manuals is launched! Read the announcement.

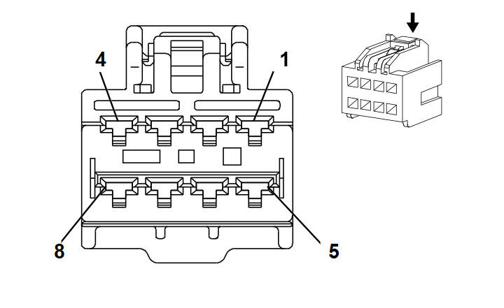
Heated Seat Control Module X2 (KA1 or W03)

Fig 1: Heated Seat Control Module X2 (KA1 or W03) Connector End View
GM1653389Courtesy of GENERAL MOTORS CORP.
Heated Seat Control Module X2 (KA1 or W03)

Pin Wire Circuit Function
1 0.8 RD/WH 1140 Battery Positive Voltage
2 3 BK 1150 Ground
3-4 - - Not Used
5 0.35 PK 2426 Low reference
6 0.35 YE 2080 Low reference
7 0.35 TN 2482 Low reference
8 0.35 PK 2435 Low reference
Connector Part Information
  • Harness Type: Driver Seat
  • OEM Connector: 6098-4713
  • Service Connector: 88988652
  • Description: 8-Way F 2.8 Series (BK)
Terminal Part Information
  • Pins: 1
  • Terminal/Tray: 8100-4444/22
  • Core/Insulation Crimp: 2/A
  • Release Tool/Test Probe: 15315247/J-35616-35 (VT)
  • Pins: 2
  • Terminal/Tray: 8100-4445/22
  • Core/Insulation Crimp: 1/F
  • Release Tool/Test Probe: 15315247/J-35616-35 (VT)
  • Pins: 5-8
  • Terminal/Tray: 8100-4443/22
  • Core/Insulation Crimp: 1/E
  • Release Tool/Test Probe: 15315247/J-35616-35 (VT)