LEMON Manuals: Even more car manuals for everyone: 1960-2025
Home >> Cadillac >> 2011 >> Escalade EXT >> Repair and Diagnosis (Single Page) >> Electrical >> Wiring Diagrams >> Wiring Systems And Power Management - Component Connector End Views - A/C Compressor Through Electronic Power Steering Module X1 >> Component Connector End Views >> Accessory AC/DC Power Control Module X2 (HP2)
April 5, 2026: LEMON Manuals is launched! Read the announcement.

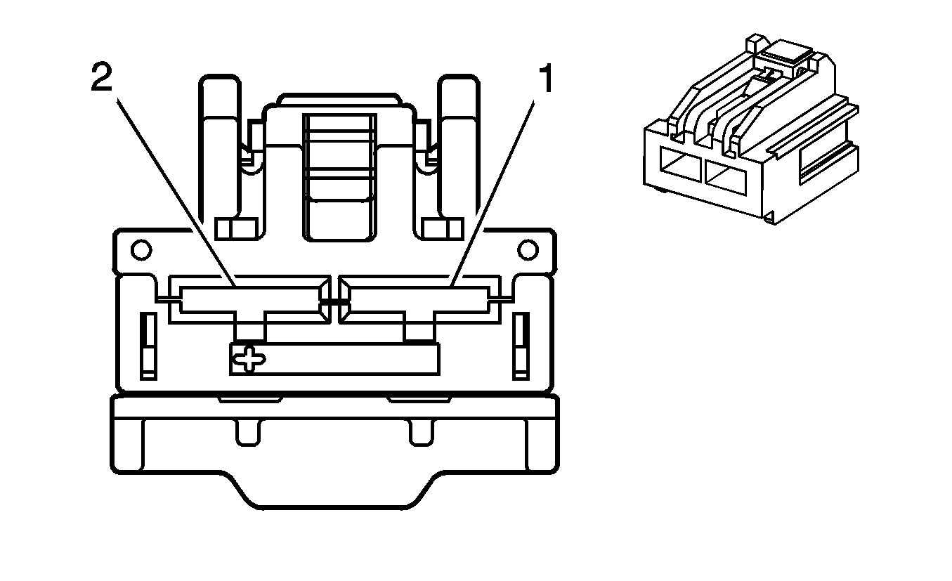
Accessory AC/DC Power Control Module X2 (HP2)

Fig 1: Accessory AC/DC Power Control Module X2 (HP2) Connector End View
GM1538784Courtesy of GENERAL MOTORS CORP.
Accessory AC/DC Power Control Module X2 (HP2)

Pin Wire Circuit Function
1 1 BK 1450 Ground
2 1 RD/WH 4140 Battery Positive Voltage
Connector Part Information
  • Harness Type: Body
  • OEM Connector: 15473590
  • Service Connector: 88987988
  • Description: 2-Way F Receptacle 6.3 Series (BK)
Terminal Part Information
  • Terminated Lead: Service by Connector Assembly- 88987988
  • Release Tool: J-38125-11A
  • Diagnostic Test Probe: J-35616-42 (RD)
  • Terminal/Tray: 7116-4120-02/9
  • Core/Insulation Crimp: E/B