LEMON Manuals: Even more car manuals for everyone: 1960-2025
Home >> Cadillac >> 2011 >> Escalade EXT >> Repair and Diagnosis (Single Page) >> Electrical >> Wiring Diagrams >> Wiring Systems And Power Management - Component Connector End Views - A/C Compressor Through Electronic Power Steering Module X1 >> Component Connector End Views >> Body Control Module (BCM) X4
April 5, 2026: LEMON Manuals is launched! Read the announcement.

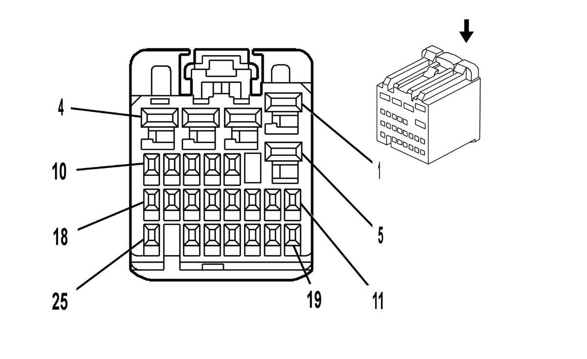
Body Control Module (BCM) X4

Fig 1: Body Control Module (BCM) X4 Connector End View
GM1664499Courtesy of GENERAL MOTORS CORP.
Body Control Module (BCM) X4

Pin Wire Circuit Function
1 0.8 RD/WH 2740 Battery Positive Voltage
2 0.8 RD/WH 3040 Battery Positive Voltage
3 0.8 RD/WH 2940 Battery Positive Voltage
4 0.8 RD/WH 2240 Battery Positive Voltage
5 0.5 D-BU/WH 1315 Right Front Turn Signal Lamp Control (PPV or 5W4)
0.8 D-BU/WH 1315 Right Front Turn Signal Lamp Control
6 0.35 D-GN 6134 Local Interconnect Network Bus
7 0.35 YE 196 Windshield Wiper Motor Park Switch Signal
8 - - Not Used
9 0.5 BK/WH 451 Ground
10 0.35 RD/WH 2840 Battery Positive Voltage
11 0.35 D-GN/WH 1317 Fog Lamp Relay Control (T96)
12 0.35 YE 5187 Right Trailer Turn Signal Lamp
13 0.35 OG 5186 Left Trailer Turn Signal Lamp
14 - - Not Used
15 0.5 OG 2268 Windshield Washer Relay Control
16 0.35 TN/WH 1969 Headlamp High Beam Relay Control
17 0.35 PK/BK 109 Hood Ajar Switch Signal
18 - - Not Used
19 0.35 D-BU 5985 Accessory Wake up Serial Data
20 - - Not Used
21 0.35 YE 5199 Run/Crank Relay Coil Control
22 - - Not Used
23 0.35 L-GN/BK 592 DRL Relay Control
24-25 - - Not Used
Connector Part Information
  • Harness Type: Instrument Panel
  • OEM Connector: 15482792
  • Service Connector: 88988841
  • Description: 25-Way F HIT Series (BK)
Terminal Part Information
  • Pins: 1-5
  • Terminated Lead: 13327199
  • Release Tool: J-38125-12A
  • Diagnostic Test Probe: J-35616-35 (VT)
  • Terminal/Tray: SNAC-A061T-M2.8/20
  • Core/Insulation Crimp: E/A
  • Pins: 6, 7, 9-13, 15-17, 19, 21, 23
  • Terminated Lead: 13575870
  • Release Tool: J-38125-12A
  • Diagnostic Test Probe: J-35616-64B (L-BU)
  • Terminal/Tray: SNAC3-A021T-M0.64/20
  • Core/Insulation Crimp: J/J