LEMON Manuals: Even more car manuals for everyone: 1960-2025
Home >> Cadillac >> 2011 >> Escalade EXT >> Repair and Diagnosis (Single Page) >> Electrical >> Wiring Diagrams >> Wiring Systems And Power Management - Component Connector End Views - A/C Compressor Through Electronic Power Steering Module X1 >> Component Connector End Views >> Drive Motor Battery Cable Terminal Extension Cover (HP2)
April 5, 2026: LEMON Manuals is launched! Read the announcement.

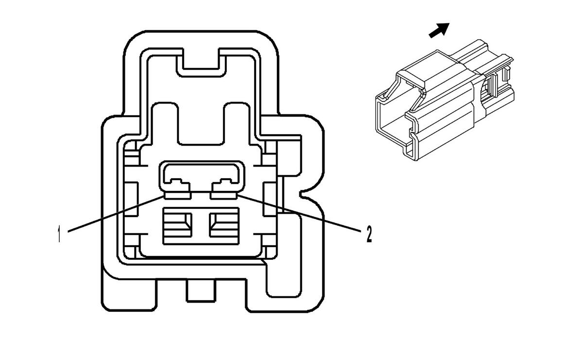
Drive Motor Battery Cable Terminal Extension Cover (HP2)

Fig 1: Drive Motor Battery Cable Terminal Extension Cover (HP2) Connector End View
GM1853532Courtesy of GENERAL MOTORS CORP.
Drive Motor Battery Cable Terminal Extension Cover (HP2)

Pin Wire Circuit Function
1 YE - High Voltage Interlock Circuit Source
2 L-GN - High Voltage Interlock Circuit Return
Connector Part Information
  • Harness Type: Drive Motor Generator Battery Control
  • OEM Connector: 7282-5530-40
  • Service Connector: 88988503
  • Description: 2-Way M 1.5 Series (L-GY)
Terminal Part Information
  • Terminal/Tray: 7114-4100-08/9
  • Core/Insulation Crimp: E/C
  • Release Tool/Test Probe: 15315247/J-35616-3 (GY)