LEMON Manuals: Even more car manuals for everyone: 1960-2025
Home >> Cadillac >> 2011 >> Escalade EXT >> Repair and Diagnosis (Single Page) >> Electrical >> Wiring Diagrams >> Wiring Systems And Power Management - Component Connector End Views - A/C Compressor Through Electronic Power Steering Module X1 >> Component Connector End Views >> Drive Motor Generator Power Inverter Module Cover (HP2)
April 5, 2026: LEMON Manuals is launched! Read the announcement.

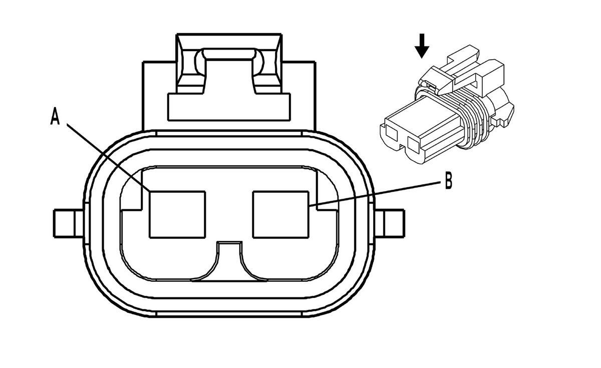
Drive Motor Generator Power Inverter Module Cover (HP2)

Fig 1: Drive Motor Generator Power Inverter Module Cover (HP2) Connector End View
GM684799Courtesy of GENERAL MOTORS CORP.
Drive Motor Generator Power Inverter Module Cover (HP2)

Pin Wire Circuit Function
A 0.5 PU 5087 High Voltage Interlock Circuit +
B 0.5 PU 5087 High Voltage Interlock Circuit +
Connector Part Information
  • Harness Type: Engine
  • OEM Connector: 12077900
  • Service Connector: 12116247
  • Description: 2-Way F Metri-Pack 280 Series, Sealed (BK)
Terminal Part Information
  • Terminated Lead: Service by Connector Assembly- 12116247
  • Release Tool: J-38125-11A
  • Diagnostic Test Probe: J-35616-4A (PU)
  • Terminal/Tray: 12077411/2
  • Core/Insulation Crimp: 2/5