LEMON Manuals: Even more car manuals for everyone: 1960-2025
Home >> Cadillac >> 2011 >> Escalade EXT >> Repair and Diagnosis (Single Page) >> Electrical >> Wiring Diagrams >> Wiring Systems And Power Management - Component Connector End Views - Electronic Steering Control Module X2 Through Memory Seat Module >> Component Connector End Views >> Generator Battery Vent Fan (HP2)
April 5, 2026: LEMON Manuals is launched! Read the announcement.

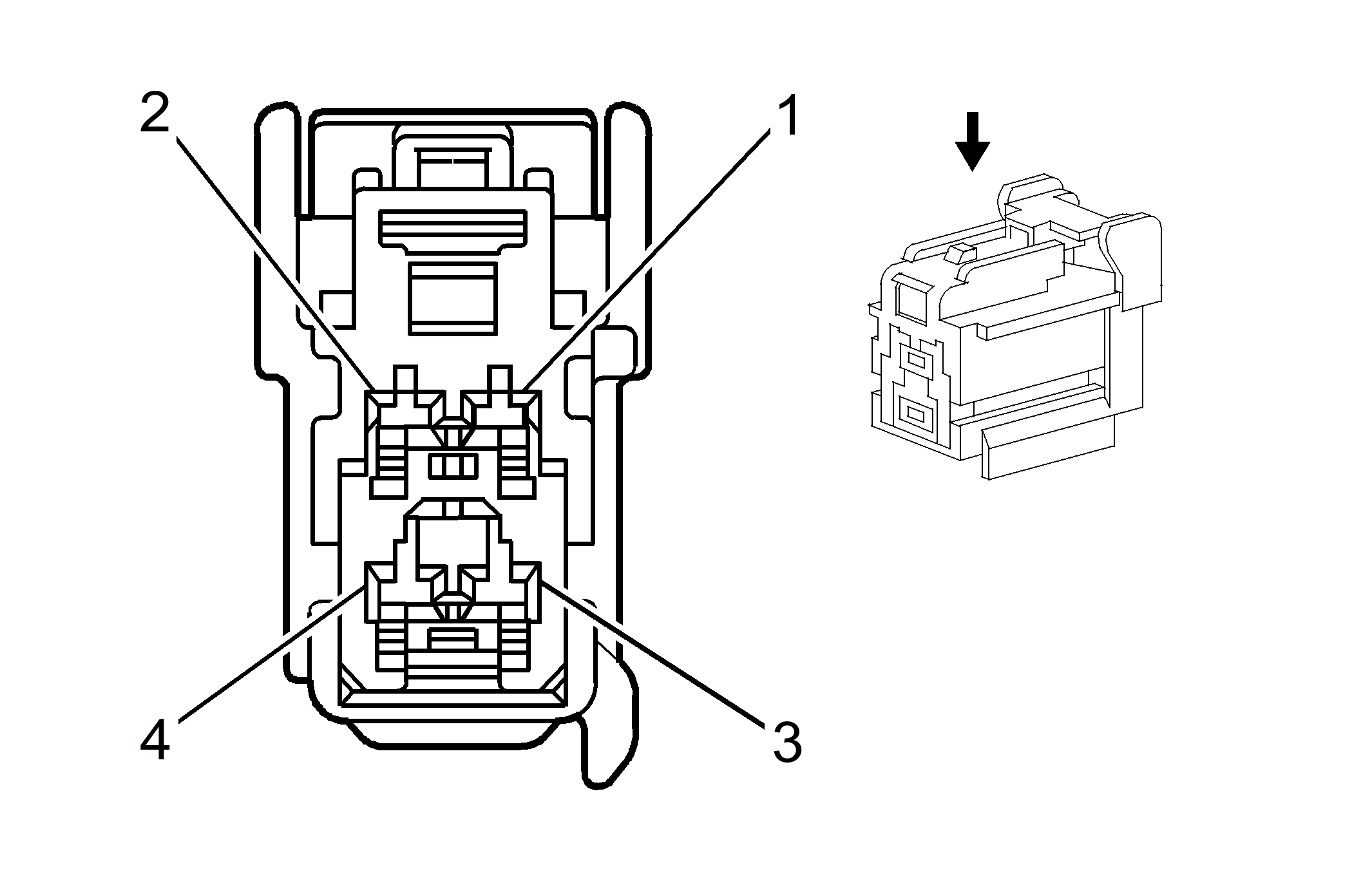
Generator Battery Vent Fan (HP2)

Fig 1: Generator Battery Vent Fan (HP2) Connector End View
GM1413036Courtesy of GENERAL MOTORS CORP.
Generator Battery Vent Fan (HP2)

Pin Wire Circuit Function
1 L-GN - Not Used
2 PK/D-BU - Fan Motor Power Feed
3 BK/YE - Ground
4 L-GN/BK - 5-Volt Reference
Connector Part Information
  • Harness Type: Drive Motor Generator Battery Control
  • OEM Connector: 7283-5531-40
  • Service Connector: Service by Harness - See Part Catalog
  • Description: 4-Way F YESC/USCAR Class III (D-GY)
Terminal Part Information
  • Terminal/Tray: Service by Harness - See Part Catalog
  • Core/Insulation Crimp: Not Available
  • Release Tool/Test Probe: Not Available