LEMON Manuals: Even more car manuals for everyone: 1960-2025
Home >> Cadillac >> 2011 >> Escalade EXT >> Repair and Diagnosis (Single Page) >> Quick Lookups >> Wiring Diagrams >> Wiring Systems And Power Management - Component Connector End Views - A/C Compressor Through Electronic Power Steering Module X1 >> Component Connector End Views >> Accessory Power Outlet - I/P 2 (X88 or Z88)
April 5, 2026: LEMON Manuals is launched! Read the announcement.

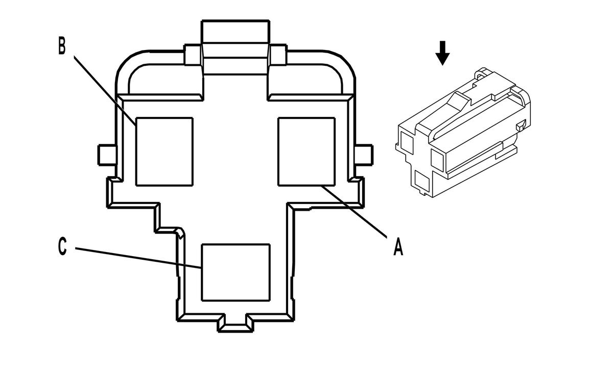
Accessory Power Outlet - I/P 2 (X88 or Z88)

Fig 1: Accessory Power Outlet - I/P 2 (X88 or Z88) Connector End View
GM320518Courtesy of GENERAL MOTORS CORP.
Accessory Power Outlet - I/P 2 (X88 or Z88)

Pin Wire Circuit Function
A 0.8 RD/WH 1040 Battery Positive Voltage
B - - Not Used
C 0.8 BK 1050 Ground
Connector Part Information
  • Harness Type: Instrument Panel
  • OEM Connector: 12176446
  • Service Connector: 19257374
  • Description: 3-Way F Metri-Pack 280 Series, Flexlock (BK)
Terminal Part Information
  • Terminated Lead: 13575721
  • Release Tool: J-38125-553
  • Diagnostic Test Probe: J-35616-4A (PU)
  • Terminal/Tray: 12110844/4
  • Core/Insulation Crimp: C/A