LEMON Manuals: Even more car manuals for everyone: 1960-2025
Home >> Cadillac >> 2011 >> Escalade EXT >> Repair and Diagnosis (Single Page) >> Quick Lookups >> Wiring Diagrams >> Wiring Systems And Power Management - Component Connector End Views - A/C Compressor Through Electronic Power Steering Module X1 >> Component Connector End Views >> Blower Motor Control Module X2
April 5, 2026: LEMON Manuals is launched! Read the announcement.

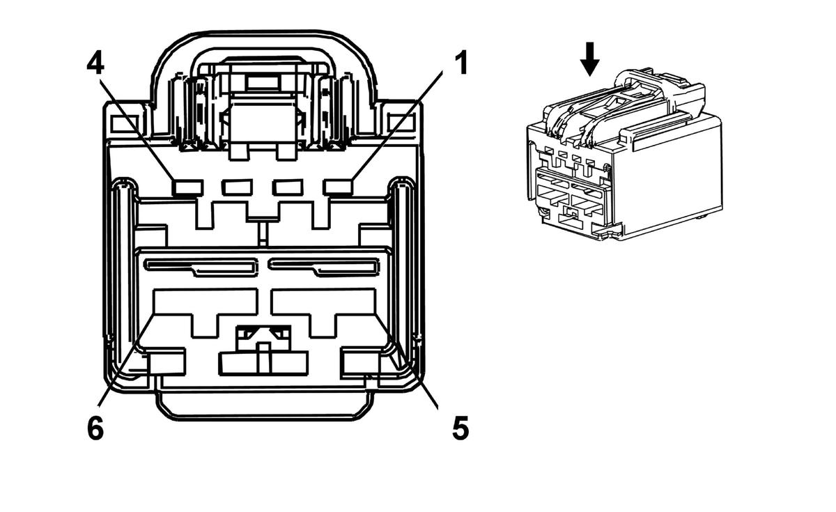
Blower Motor Control Module X2

Fig 1: Blower Motor Control Module X2 Connector End View
GM1837860Courtesy of GENERAL MOTORS CORP.
Blower Motor Control Module X2

Pin Wire Circuit Function
1-2 - - Not Used
3 0.35 PU/WH 754 Blower Motor Speed Control
4 - - Not Used
5 5 BK 1050 Ground
6 3 RD 542 Battery Positive Voltage
Connector Part Information
  • Harness Type: HVAC
  • OEM Connector: 13520671
  • Service Connector: 88988512
  • Description: 6-Way F GT 150 6.3 Series (BK)
Terminal Part Information
  • Terminal/Tray: Service by Harness - See Part Catalog
  • Core/Insulation Crimp: Not Available
  • Release Tool/Test Probe: Not Available