LEMON Manuals: Even more car manuals for everyone: 1960-2025
Home >> Cadillac >> 2011 >> Escalade EXT >> Repair and Diagnosis (Single Page) >> Quick Lookups >> Wiring Diagrams >> Wiring Systems And Power Management - Component Connector End Views - A/C Compressor Through Electronic Power Steering Module X1 >> Component Connector End Views >> Blower Motor
April 5, 2026: LEMON Manuals is launched! Read the announcement.

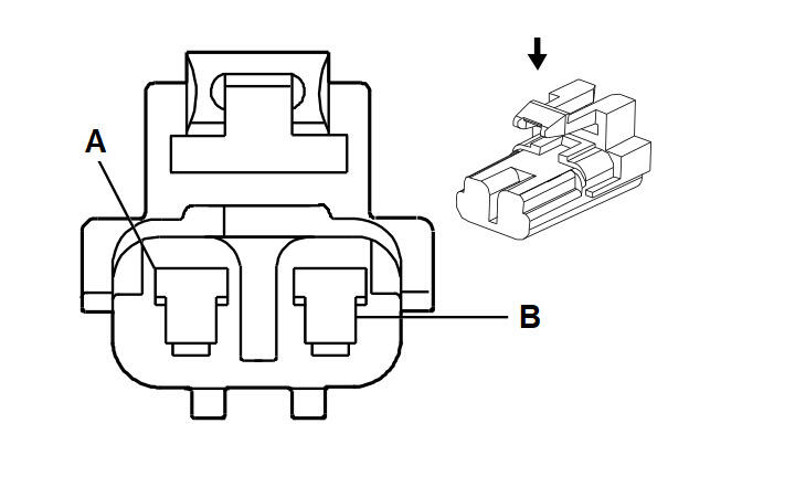
Blower Motor

Fig 1: Blower Motor Connector End View
GM62488Courtesy of GENERAL MOTORS CORP.
Blower Motor

Pin Wire Circuit Function
A 3 PU 65 Battery Positive Voltage
B 3 BK 2150 Ground
Connector Part Information
  • Harness Type: HVAC
  • OEM Connector: 12084957
  • Service Connector: 12126461
  • Description: 2-Way F Metri-Pack 280 Series (BK)
Terminal Part Information
  • Terminal/Tray: Service by Harness- See Part Catalog
  • Core/Insulation Crimp: Not Available
  • Release Tool/Test Probe: Not Available