LEMON Manuals: Even more car manuals for everyone: 1960-2025
Home >> Cadillac >> 2011 >> Escalade EXT >> Repair and Diagnosis (Single Page) >> Quick Lookups >> Wiring Diagrams >> Wiring Systems And Power Management - Component Connector End Views - A/C Compressor Through Electronic Power Steering Module X1 >> Component Connector End Views >> Body Control Module (BCM) X2
April 5, 2026: LEMON Manuals is launched! Read the announcement.

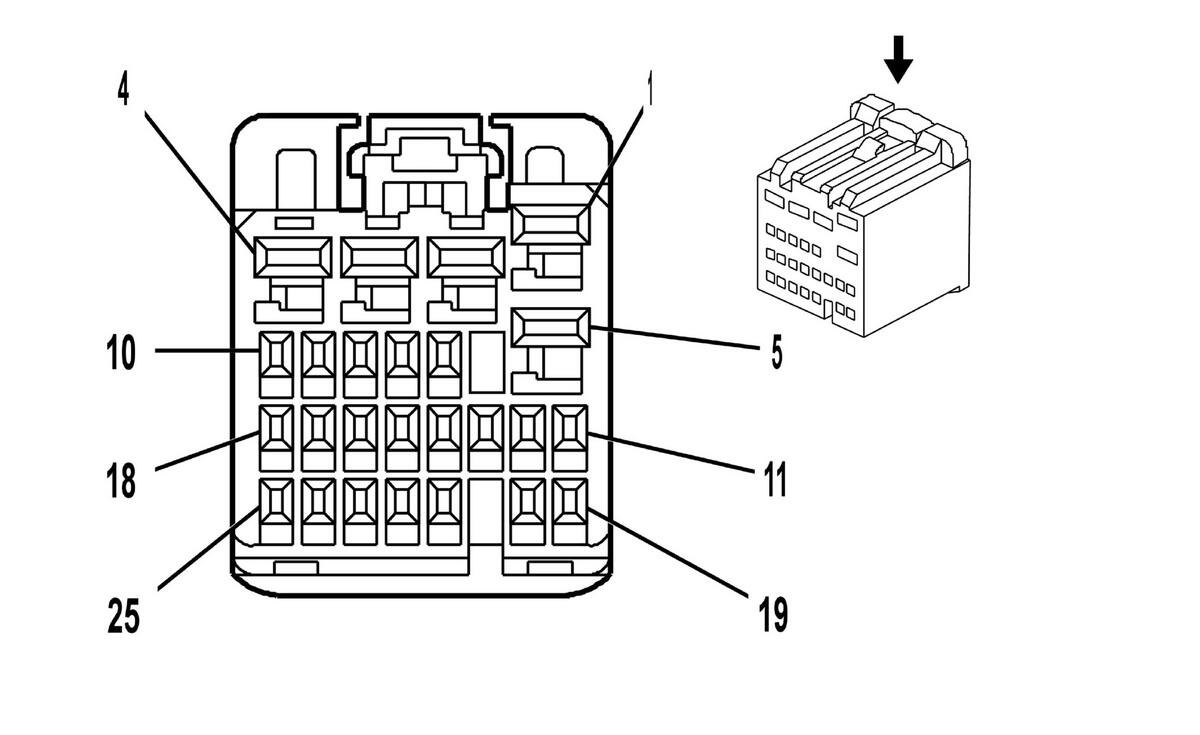
Body Control Module (BCM) X2

Fig 1: Body Control Module (BCM) X2 Connector End View
GM1664496Courtesy of GENERAL MOTORS CORP.
Body Control Module (BCM) X2

Pin Wire Circuit Function
1 0.5 OG 6815 Inadvertent Power Control
2 0.5 RD/WH 2540 Battery Positive Voltage
3 0.5 BN/WH 230 Instrument Panel Lamp Dimming Control
4 - - Not Used
5 0.5 GY 157 Interior Lamp Control
6-7 - - Not Used
8 0.35 L-BU 13 Headlamp Switch Park Lamp Signal
9-10 - - Not Used
11 0.35 WH 278 Ambient Light Sensor Signal
12 0.35 WH 103 Headlamp Switch On Signal
13-15 - - Not Used
16 0.35 L-BU 3203 Outage Detection Signal (T4Q)
17 0.35 D-GN 306 Headlamp Switch Headlamps Off Signal
18 0.35 D-BU/WH 149 Courtesy Lamp Control
19 0.35 D-BU 3204 Outage Detection Signal (T4Q)
20 0.35 PU 5357 Right Tail Lamp Outage Detection Signal (Z75 with E52)
21 0.35 L-BU 1788 Traction Control Switch Signal
22 0.35 D-BU 38 Backup Lamp Relay Control
23-24 - - Not Used
25 0.35 PU 328 Interior Lamp Switch Voltage Control
Connector Part Information
  • Harness Type: Instrument Panel
  • OEM Connector: 15482790
  • Service Connector: 88988839
  • Description: 25-Way F HIT Series (WH)
Terminal Part Information
  • Pins: 1-5
  • Terminated Lead: 13327199
  • Release Tool: J-38125-12A
  • Diagnostic Test Probe: J-35616-35 (VT)
  • Terminal/Tray: SNAC-A061T-M2.8/20
  • Core/Insulation Crimp: E/A
  • Pins: 6-25
  • Terminated Lead: 13575870
  • Release Tool: J-38125-12A
  • Diagnostic Test Probe: J-35616-64B (L-BU)
  • Terminal/Tray: SNAC3-A021T-M0.64/20
  • Core/Insulation Crimp: J/J