LEMON Manuals: Even more car manuals for everyone: 1960-2025
Home >> Cadillac >> 2011 >> Escalade EXT >> Repair and Diagnosis (Single Page) >> Quick Lookups >> Wiring Diagrams >> Wiring Systems And Power Management - Component Connector End Views - A/C Compressor Through Electronic Power Steering Module X1 >> Component Connector End Views >> Body Control Module (BCM) X5
April 5, 2026: LEMON Manuals is launched! Read the announcement.

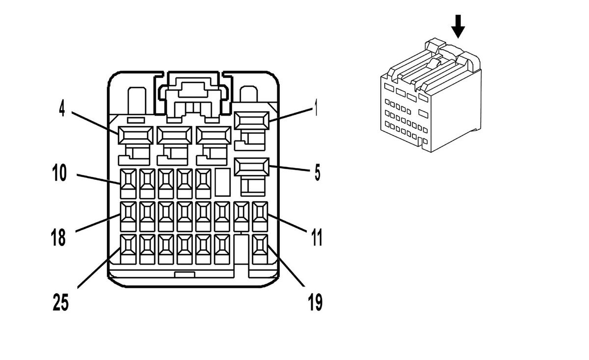
Body Control Module (BCM) X5

Fig 1: Body Control Module (BCM) X5 Connector End View
GM1664500Courtesy of GENERAL MOTORS CORP.
Body Control Module (BCM) X5

Pin Wire Circuit Function
1 0.5 YE/BK 1334 Left Rear Turn Signal Lamp Control (X88, Z88 or Z75, with EXP and with E52)
0.35 YE 18 Left Rear Stop/Turn Lamp Control (X88 without E52 or Z75 without EXP)
2 0.5 D-GN/WH 1335 Right Rear Turn Signal Lamp Control (X88, Z88 or Z75, with EXP and with E52)
1 D-GN 19 Right Rear Stop/Turn Lamp Control (X88 without E52 or Z75 without EXP)
3 - - Not Used
4 0.5 L-BU/WH 1314 Left Front Turn Signal Lamp Control
5 0.5 L-BU 1320 CHMSL Control
6 0.35 L-BU/WH 6311 Brake Signal
7 0.35 D-BU 38 Backup Lamp Control
8 0.5 PK 5076 Current Sensor Control
9 0.5 WH 5075 Current Sensor Signal
10 0.5 BN 5077 Low Reference
11 0.35 YE 43 Ignition Voltage
12 - - Not Used
13 0.35 OG 300 Ignition Voltage
14 0.35 WH 2283 Rear Wiper/Washer Switch Control (E52 or TB7)
15 0.35 PU 5531 Hood Closed Switch Signal
16 0.35 L-BU 1134 Park Brake Switch Signal
17 0.5 YE 5356 Left Tail Lamp Outage Detection Signal (Z75)
18 0.35 TN 28 Horn Relay Control
19 0.35 YE 6812 Out of Park Signal (except HP2)
20 0.35 GY 91 Windshield Wiper Switch Signal 2
21 0.35 TN 860 Front Windshield Wiper Switch High Signal
22 - - Not Used
23 0.35 PK/WH 1970 Headlamp Low Beam Relay Control
24 0.35 D-BU 45 Park Lamp Relay Control
25 - - Not Used
Connector Part Information
  • Harness Type: Instrument Panel
  • OEM Connector: 15480179
  • Service Connector: 88988837
  • Description: 25-Way F HIT Series (BN)
Terminal Part Information
  • Pins: 1-5
  • Terminated Lead: 13327199
  • Release Tool: J-38125-12A
  • Diagnostic Test Probe: J-35616-35 (VT)
  • Terminal/Tray: SNAC-A061T-M2.8/20
  • Core/Insulation Crimp: Pins 1, 2 (X88, Z88 or Z75 with EXP and with E52), 4, 5 - E/A
  • Core/Insulation Crimp: Pins 2 (X88 without E52 or Z75 without EXP) - C/A
  • Pins: 6-25
  • Terminated Lead: 13575870
  • Release Tool: J-38125-12A
  • Diagnostic Test Probe: J-35616-64B (L-BU)
  • Terminal/Tray: SNAC3-A021T-M0.64/20
  • Core/Insulation Crimp: J/J