LEMON Manuals: Even more car manuals for everyone: 1960-2025
Home >> Cadillac >> 2011 >> Escalade EXT >> Repair and Diagnosis (Single Page) >> Quick Lookups >> Wiring Diagrams >> Wiring Systems And Power Management - Component Connector End Views - A/C Compressor Through Electronic Power Steering Module X1 >> Component Connector End Views >> Control Solenoid Valve Assembly X3 (MYC or MYD)
April 5, 2026: LEMON Manuals is launched! Read the announcement.

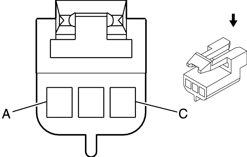
Control Solenoid Valve Assembly X3 (MYC or MYD)

Fig 1: Control Solenoid Valve Assembly X3 (MYC or MYD) Connector End View
GM130631Courtesy of GENERAL MOTORS CORP.
Control Solenoid Valve Assembly X3 (MYC or MYD)

Pin Wire Circuit Function
A 0.35 GN - Input Speed Sensor (ISS) Signal
B 0.35 RD - Reference Voltage
C 0.35 BK - Output Speed Sensor (OSS) Signal
Connector Part Information
  • Harness Type: Transmission
  • OEM Connector: 12064758
  • Service Connector: 12117320
  • Description: 3-Way F Metri-Pack 150 Series (NA)
Terminal Part Information
  • Terminated Lead: Service by Connector Assembly - 12117320
  • Release Tool: Not Available
  • Test Probe: Not Available
  • Terminal/Tray: Not Available
  • Core/Insulation Crimp: Not Available