LEMON Manuals: Even more car manuals for everyone: 1960-2025
Home >> Cadillac >> 2011 >> Escalade EXT >> Repair and Diagnosis (Single Page) >> Quick Lookups >> Wiring Diagrams >> Wiring Systems And Power Management - Component Connector End Views - A/C Compressor Through Electronic Power Steering Module X1 >> Component Connector End Views >> Drive Motor Generator Power Inverter Module X1 (HP2)
April 5, 2026: LEMON Manuals is launched! Read the announcement.

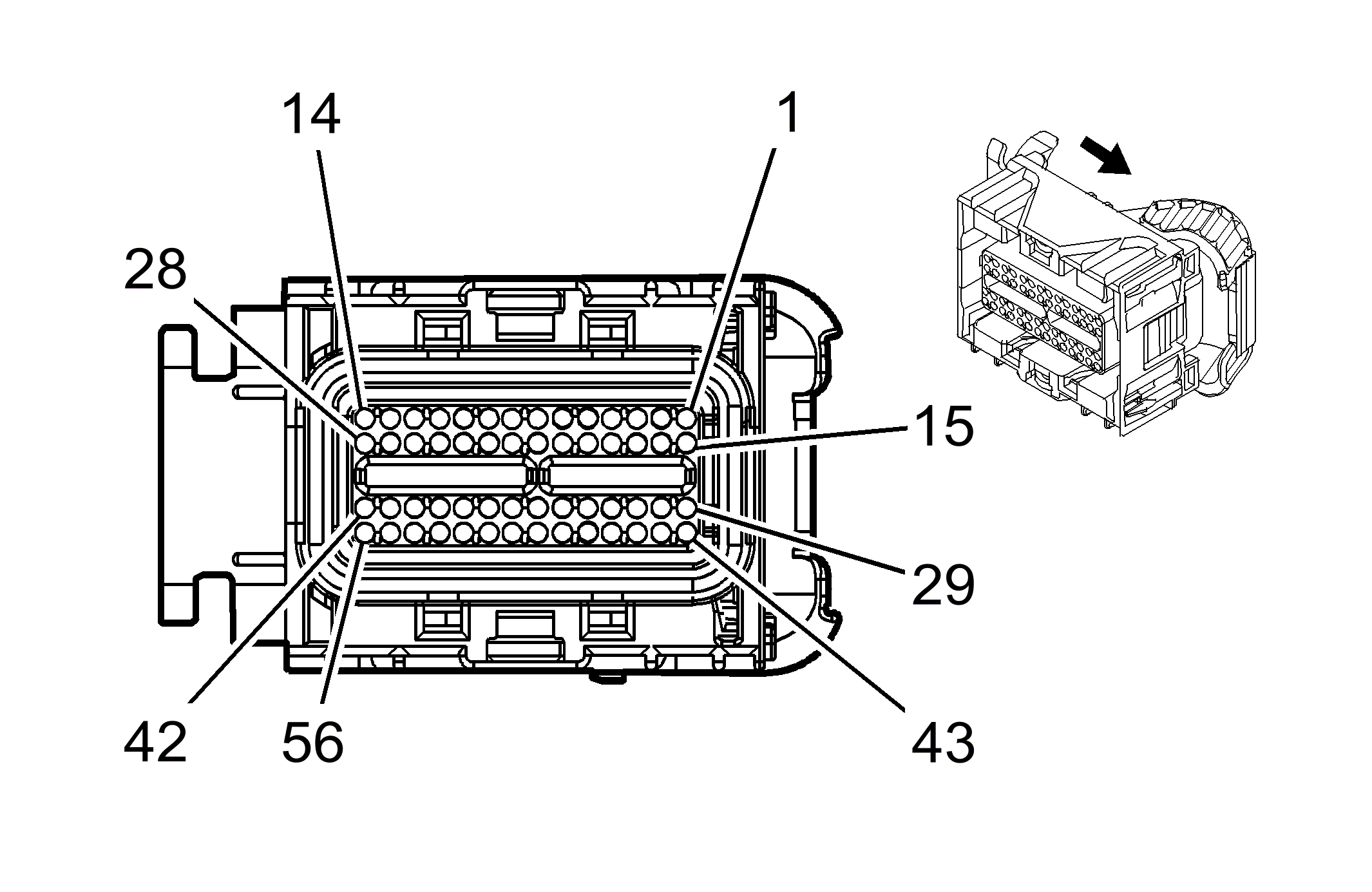
Drive Motor Generator Power Inverter Module X1 (HP2)

Fig 1: Drive Motor Generator Power Inverter Module X1 (HP2) Connector End View
GM2103247Courtesy of GENERAL MOTORS CORP.
Drive Motor Generator Power Inverter Module X1 (HP2)

Pin Wire Circuit Function
1 0.5 OG 5595 High Voltage Interlock Loop - Negaitive
2-3 - - Not Used
4 0.35 YE 988 Contactor Control
5 0.8 L-GN 983 Transmission Fluid Pump Control
6 0.8 RD/WH 984 Battery Positive Voltage
7 0.8 RD/WH 983 Battery Positive Voltage
8-9 - - Not Used
10 0.5 L-BU 6106 PTLAN -
11 0.5 D-BU 6105 PTLAN +
12 - - Not Used
13 0.5 TN 2501 High Speed GMLAN Serial Data Bus-
14 0.5 TN/BK 2500 High Speed GMLAN Serial Data Bus+
15 0.5 YE 904 Internal Mode Switch (IMS) R1
16 0.5 GY 904 Internal Mode Switch(IMS) R2
17 0.5 BN 904 Internal Mode Switch (IMS) R3
18 0.5 L-GN 904 Internal Mode Switch (IMS) R4
19 0.5 L-GN/BK 968 Wake Up Signal
20 0.5 PK/WH 2139 Ignition Voltage
21-22 - - Not Used
23 0.5 PU 5087 High Voltage Interlock Circuit - Positive
24 0.5 L-BU 6106 PTLAN -
25 0.5 D-BU 6105 PTLAN +
26 0.35 WH/BK 6271 Crankshaft Position Sensor Signal
27 0.5 TN 2501 High Speed GMLAN Serial Data Bus -
28 0.5 TN/BK 2500 High Speed GMLAN Serial Data Bus +
29 0.5 YE 9016 Temperature Sensor B Return
30-31 - - Not Used
32 0.5 PU 904 Internal Mode Switch (IMS)-S
33-34 - - Not Used
35 0.35 GY/BK 6272 Low Reference
36 0.5 D-GN 7654 Temperature Sensor A Return
37-38 - - Not Used
39 0.5 OG/BK 1786 Internal Mode Switch (IMS) Ground
40 - - Not Used
41 0.8 TN 982 Transmission Fluid Pump Diagnostic
42 - - Not Used
43 0.5 L-GN 9015 Temperature Sensor B Signal
44 0.5 BN 9007 Resolver Motor B S4 Signal
45 0.5 D-GN 9006 Resolver Motor B S2 Signal
46 0.5 GY 9009 Resolver Motor B S3 Signal
47 0.5 L-BU 9008 Resolver Motor B S1 Signal
48 0.5 GY 9005 Resolver Motor B Excitation, Negative
49 0.5 D-BU 9004 Resolver Motor B Excitation, Positive
50 0.5 L-BU 7653 Temperature Sensor A Signal
51 0.5 GY 7646 Resolver Motor A S4 Signal
52 0.5 PU 7647 Resolver Motor A S2 Signal
53 0.5 BN 7652 Resolver Motor A S3 Signal
54 0.5 YE 7649 Resolver Motor A S1 Signal
55 0.5 L-GN 7648 Resolver Motor A Excitation, Positive
56 0.5 D-BU 7645 Resolver Motor A Excitation, Positive
Connector Part Information
  • Harness Type: Engine
  • OEM Connector: 13570045
  • Service Connector: 19180279
  • Description: 56-Way F Mirco-Pack 64 Series, Sealed (BK)
Terminal Part Information
  • Terminated Lead: Pins: 1, 5-7, 10, 11, 13-20, 23-25, 27-29, 32, 36, 39, 41, 43-56 - 13575528
  • Terminated Lead: Pins: 4, 26, 35 - 13579968
  • Release Tool: J-38125-21
  • Diagnostic Test Probe: J-35616-64B (L-BU)
  • Terminal/Tray: 15359541/4
  • Core/Insulation Crimp: M/M