LEMON Manuals: Even more car manuals for everyone: 1960-2025
Home >> Cadillac >> 2011 >> Escalade EXT >> Repair and Diagnosis (Single Page) >> Quick Lookups >> Wiring Diagrams >> Wiring Systems And Power Management - Component Connector End Views - Electronic Steering Control Module X2 Through Memory Seat Module >> Component Connector End Views >> Evaporative Emissions (EVAP) Canister Purge Solenoid Valve
April 5, 2026: LEMON Manuals is launched! Read the announcement.

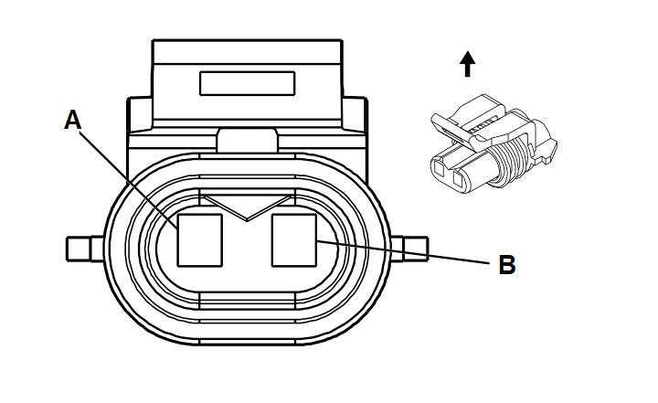
Evaporative Emissions (EVAP) Canister Purge Solenoid Valve

Fig 1: Evaporative Emissions (EVAP) Canister Purge Solenoid Valve Connector End View
GM684829Courtesy of GENERAL MOTORS CORP.
Evaporative Emissions (EVAP) Canister Purge Solenoid Valve

Pin Wire Circuit Function
A 0.5 PK 1839 Ignition Voltage
B 0.5 D-GN/WH 428 EVAP Canister Purge Solenoid Control
Connector Part Information
  • Harness Type: Engine
  • OEM Connector: 12124037
  • Service Connector: 12101858
  • Description: 2-Way F Metri-Pack 150 Series Sealed (BK)
Terminal Part Information
  • Terminated Lead: 13575419
  • Release Tool: J-38125-12A
  • Diagnostic Test Probe: J-35616-14 (GN)
  • Terminal/Tray: 12048074/2
  • Core/Insulation Crimp: E/1