LEMON Manuals: Even more car manuals for everyone: 1960-2025
Home >> Cadillac >> 2011 >> Escalade EXT >> Repair and Diagnosis (Single Page) >> Quick Lookups >> Wiring Diagrams >> Wiring Systems And Power Management - Component Connector End Views - Electronic Steering Control Module X2 Through Memory Seat Module >> Component Connector End Views >> Inflatable Restraint Sensing and Diagnostic Module (SDM) X1
April 5, 2026: LEMON Manuals is launched! Read the announcement.

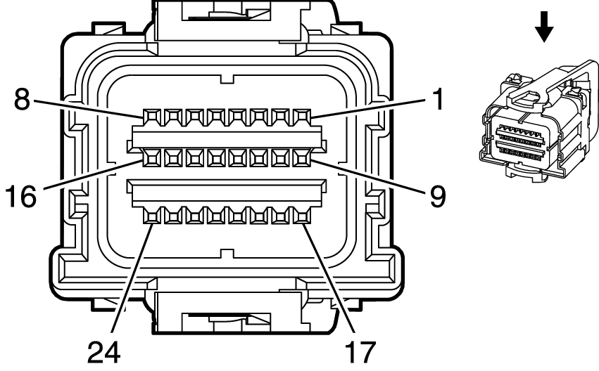
Inflatable Restraint Sensing and Diagnostic Module (SDM) X1

Fig 1: Inflatable Restraint Sensing and Diagnostic Module (SDM) X1 Connector End Views
GM2180230Courtesy of GENERAL MOTORS CORP.
Inflatable Restraint Sensing and Diagnostic Module (SDM) X1

Pin Wire Circuit Function
1 0.5 WH 3023 Steering Wheel Module - Stage 2 - High Control
2 0.5 PK 3022 Steering Wheel Module - Stage 2 - Low Control
3 0.5 BN 3020 Steering Wheel Module - Stage 1 - Low Control
4 0.5 TN 3021 Steering Wheel Module - Stage 1 - High Control
5 0.5 YE 3025 I/P Module - Stage 1 - High Control
6 0.5 GY 3027 I/P Module - Stage 1 - Low Control
7 0.5 PU 3026 I/P Module - Stage 2 - Low Control
8 0.5 GY 3027 I/P Module - Stage 2 - High Control
9 0.5 RD/WH 4440 Battery Positive Voltage
10-14 - - Not Available
15 03.5 D-GN 5060 Low Speed GMLAN Serial Data
16 - - Not Available
17 0.35 PK 1139 Ignition Voltage
18 - - Not Available
19 0.5 BK/WH 2751 Ground
20-24 - - Not Available
Connector Part Information
  • Harness Type: Body
  • OEM Connector: 13789034
  • Service Connector: 13580844
  • Description:12-Way F Receptacle 0.64 Series, Sealed (YE)
Terminal Part Information
  • Terminated Lead: 13579946
  • Release Tool: Pending
  • Diagnostic Test Probe: Pending
  • Terminal/Tray: Not Available
  • Core/Insulation Crimp: Not Available