LEMON Manuals: Even more car manuals for everyone: 1960-2025
Home >> Cadillac >> 2011 >> Escalade EXT >> Repair and Diagnosis (Single Page) >> Quick Lookups >> Wiring Diagrams >> Wiring Systems And Power Management - Component Connector End Views - Electronic Steering Control Module X2 Through Memory Seat Module >> Component Connector End Views >> Inflatable Restraint Side Impact Module - Right Front (without HP2 or Z75 with HP2)
April 5, 2026: LEMON Manuals is launched! Read the announcement.

Inflatable Restraint Side Impact Module - Right Front (without HP2 or Z75 with HP2)

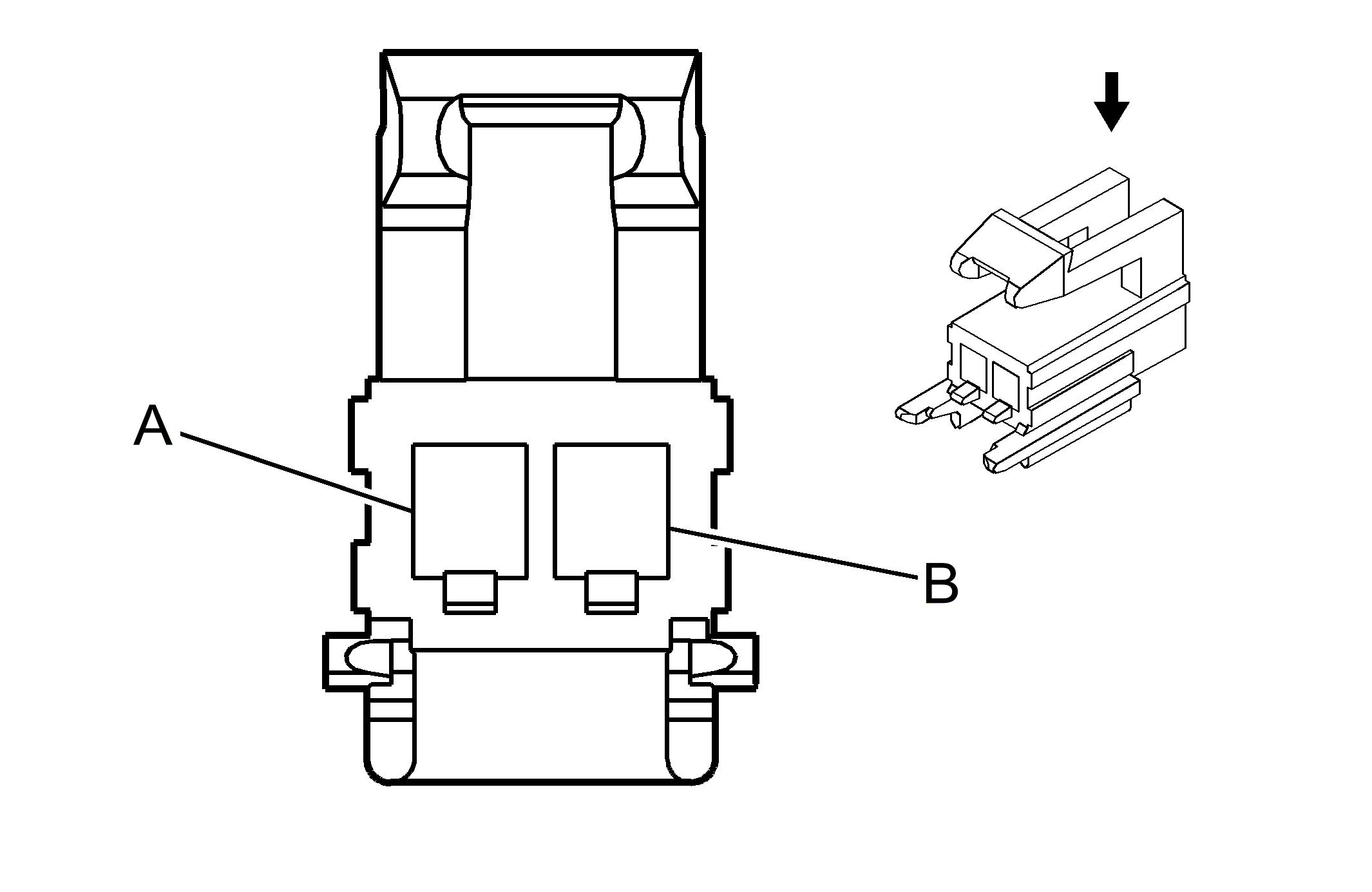
Fig 1: Inflatable Restraint Side Impact Module - Right Front (without HP2 or Z75 with HP2) Connector End View
GM295469Courtesy of GENERAL MOTORS CORP.
Inflatable Restraint Side Impact Module- Right Front (without HP2 or Z75 with HP2)

Pin Wire Circuit Function
A 0.5 PU 3066 Inflatable Restraint Side Impact Module- Right Front High Control
B 0.5 TN/BK 3067 Inflatable Restraint Side Impact Module- Right Front Low Control
Connector Part Information
  • Harness: Body
  • OEM: 12110505
  • Service: 15306044
  • Description: 2-Way F Metri-Pack 150 Series (YE)
Terminal Part Information
  • Terminated Lead: Service by Connector Assembly- 15306044
  • Release Tool: Not Available
  • Diagnostic Test Probe: J-35616-14 (GN)
  • Terminal/Tray: Not Available
  • Core/Insulation Crimp: Not Available