LEMON Manuals: Even more car manuals for everyone: 1960-2025
Home >> Cadillac >> 2011 >> Escalade EXT >> Repair and Diagnosis (Single Page) >> Quick Lookups >> Wiring Diagrams >> Wiring Systems And Power Management - Component Connector End Views - Electronic Steering Control Module X2 Through Memory Seat Module >> Component Connector End Views >> Inside Rearview Mirror (ISRVM)
April 5, 2026: LEMON Manuals is launched! Read the announcement.

Inside Rearview Mirror (ISRVM)

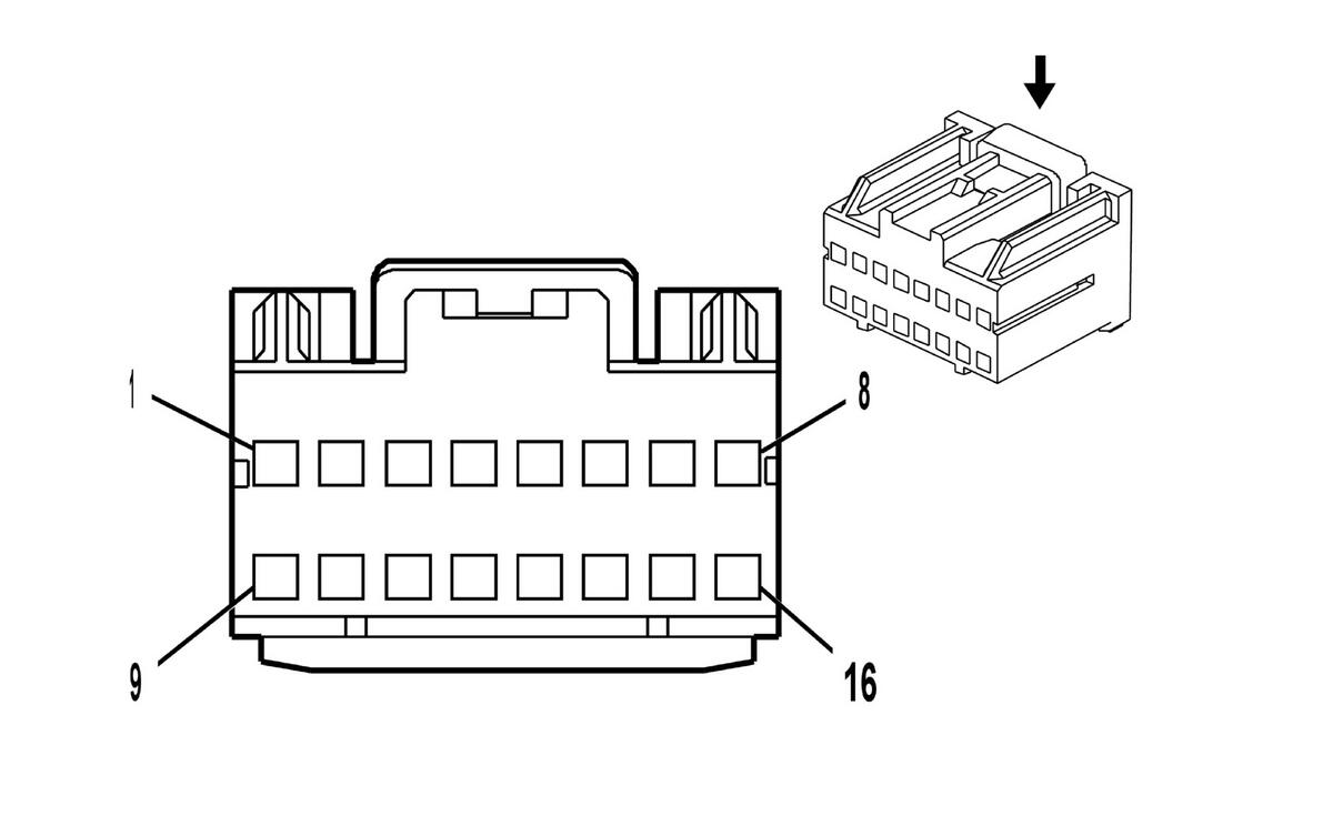
Fig 1: Inside Rearview Mirror (ISRVM) Connector End View
GM1711009Courtesy of GENERAL MOTORS CORP.
Inside Rearview Mirror (ISRVM)

Pin Wire Circuit Function
1 0.5 RD/WH 240 Battery Positive Voltage (TQ5)
2 - - Not Used
3 0.35 D-GN 5060 Low Speed GMLAN Serial Data (TQ5)
4 - - Not Used
5 0.35 GY 1690 Automatic Day/Night Mirror Signal (DL3 or DR4)
6 0.35 WH 7641 Camera Signal (+) (DRC)
0.35 WH 7641 Not Used (without DRC)
7 0.35 D-BU 7642 Camera Signal (-) (DRC)
0.35 D-BU 7642 Not Used (without DRC)
8 0.5 BK 1050 Ground
9 0.35 D-BU 38 Backup Lamp Control (DD8)
10 - - Not Used
11 0.35 D-GN/WH 2514 Keypad Signal (UE1)
12 0.35 L-GN/BK 2515 Keypad Control (UE1)
13 0.35 PK 1639 Ignition Voltage
14 0.35 YE/BK 2516 Keypad Green LED Signal (UE1)
15 0.35 BN/WH 2517 Keypad Red LED Signal (UE1)
16 0.35 PK 1691 Low Reference (DL3 or DR4)
Connector Part Information
  • Harness Type: Headliner
  • OEM Connector: 15441350
  • Service Connector: 15306351
  • Description: 16-Way F 040 II (BK)
Terminal Part Information
  • Terminated Lead: 13575548
  • Release Tool: J-38125-559
  • Diagnostic Test Probe: J-35616-16 (L-GN)
  • Terminal/Tray: 15445905/23
  • Core/Insulation Crimp: J/J