LEMON Manuals: Even more car manuals for everyone: 1960-2025
Home >> Cadillac >> 2011 >> Escalade EXT >> Repair and Diagnosis >> Electrical >> Wiring Diagrams >> Wiring Systems And Power Management - Component Connector End Views - A/C Compressor Through Electronic Power Steering Module X1 >> Component Connector End Views >> Door Latch - Driver
April 5, 2026: LEMON Manuals is launched! Read the announcement.

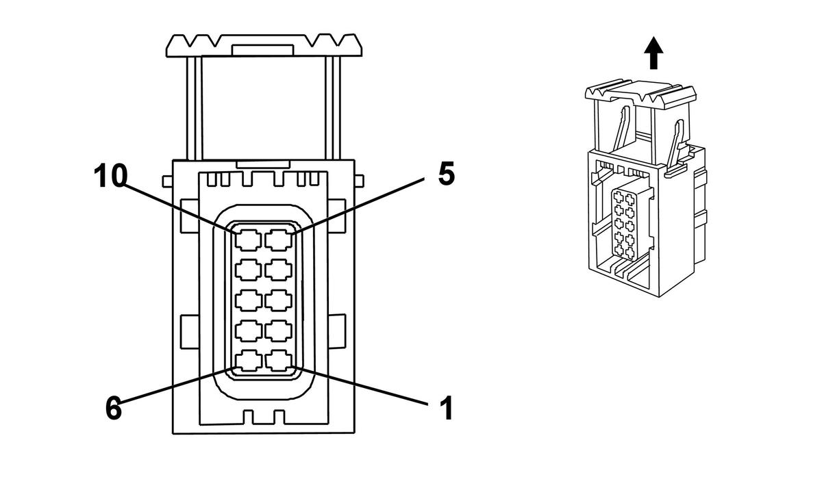
Door Latch - Driver

Fig 1: Door Latch - Driver Connector End View
GM845631Courtesy of GENERAL MOTORS CORP.
Door Latch - Driver

Pin Wire Circuit Function
1 - - Not Used
2 0.5 PU 5927 Driver Door Lock Motor Unlock Control
3 0.5 TN 5925 Driver Door Lock Motor Common
4-5 - - Not Used
6 0.35 GY/BK 745 Left Front Door Ajar Switch Signal
7 - - Not Used
8 0.35 YE 5942 Low Reference
9-10 - - Not Used
Connector Part Information
  • Harness Type: Driver Door
  • OEM Connector: 10768367
  • Service Connector: 88952463
  • Description: 10-Way F Series, Sealed (BK)
Terminal Part Information
  • Terminated Lead: 13575550
  • Release Tool: J-38125-559
  • Diagnostic Test Probe: J-35616-16 (L-GN)
  • Terminal/Tray: 15445905/23
  • Core/Insulation Crimp: J/J