LEMON Manuals: Even more car manuals for everyone: 1960-2025
Home >> Cadillac >> 2011 >> Escalade EXT >> Repair and Diagnosis >> External Pages >> Different car >> Section 1929 (Wiring Systems And Power Management - Component Views &, Component Connector End View Index) >> Electrical Center Identification Views >> Junction Block - Left I/P X5 (SPO Alarm)
April 5, 2026: LEMON Manuals is launched! Read the announcement.

Junction Block - Left I/P X5 (SPO Alarm)

WARNING: This page is about a different car, the 2008 GMC Sierra, 2008 GMC Cab & Chassis Sierra, 2008 Chevrolet Silverado, and 2008 Chevrolet Cab & Chassis Silverado. However, it is still accessible from the selected car via links, so may be relevant.
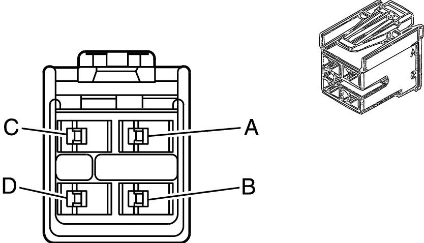
Fig 1: Junction Block - Left I/P X5 (SPO Alarm)
GM1665705Courtesy of GENERAL MOTORS CORP.
Junction Block - Left I/P X5 (SPO Alarm)

Pin Wire Color Circuit No. Function
A-C - - Not Used
D 0.5 RD/WH 4540 Batttery Positive Voltage
Connector Part Information 
  • OEM: 12194033
  • Service: See Catalog
  • Description: 4-Way F Metri-Pack 280 Series (CM)
Terminal Part Information 
  • Terminal/Tray: See Terminal Repair Kit
  • Core/Insulation Crimp: See Terminal Repair Kit
  • Release Tool/Test Probe: See Terminal Repair Kit