LEMON Manuals: Even more car manuals for everyone: 1960-2025
Home >> Cadillac >> 2011 >> SRX AWD V6-3.0L >> Repair and Diagnosis >> Diagrams >> Exploded Views >> Transfer Case
April 5, 2026: LEMON Manuals is launched! Read the announcement.

Transfer Case




Transfer Case Disassembled View

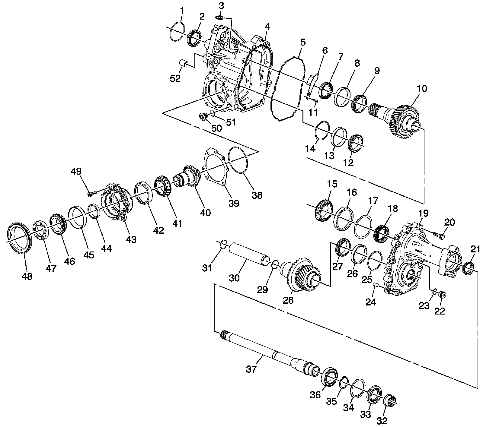
Transfer Case Components (MXE)




1 - Transmission-to-Transfer Case O-ring Seal
2 - Input Shaft Front Seal
3 - Transfer Case Vent Hose Connector
4 - Transfer Case Housing
5 - Transfer Case Rear Extension Housing-to-Transfer Case Seal
6 - Transfer Case Vent Baffle
7 - Input Shaft Rear Seal
8 - Input Shaft Front Bearing Race
9 - Input Shaft Front Bearing
10 - Input Shaft
11 - Transfer Case Vent Baffle Bolt
12 - Idler Shaft Front Bearing
13 - Idler Shaft Front Bearing Race
14 - Idler Shaft Front Bearing Shim
15 - Input Shaft Rear Bearing
16 - Input Shaft Rear Bearing Race
17 - Input Shaft Rear Bearing Shim
18 - Input Shaft Bearing Retainer Rear Seal
19 - Rear Extension Housing
20 - Transfer Case-to-Rear Extension Housing Bolt
21 - Intermediate Shaft Seal
22 - Transfer Case Fill Plug
23 - Transfer Case Fill Plug Sealing Washer
24 - Transfer Case-to-Rear Extension Housing Locating Pin
25 - Idler Shaft Rear Bearing Shim
26 - Idler Shaft Rear Bearing Race
27 - Idler Shaft Rear Bearing
28 - Idler Shaft
29 - Idler Gear Shaft Rear Seal
30 - Idler Gear Shaft
31 - Idler Gear Shaft Front Seal
32 - Transfer Case Seal
33 - Intermediate Shaft Dirt Deflector
34 - Intermediate Shaft Assembly Retaining Ring
35 - Intermediate Shaft Bearing Retaining Ring
36 - Intermediate Shaft Bearing
37 - Intermediate Shaft
38 - Rear Output Shaft Housing O-ring Seal
39 - Rear Output Shaft Shim
40 - Rear Output Shaft
41 - Rear Output Shaft Bearing
42 - Rear Output Shaft Bearing Race
43 - Rear Output Shaft Housing
44 - Rear Output Shaft Bearing Spacer
45 - Rear Output Shaft Bearing Race
46 - Rear Output Shaft Bearing
47 - Rear Output Drive Gear Nut
48 - Rear Output Shaft Seal
49 - Rear Output Shaft Housing Bolt
50 - Transfer Case Drain Plug
51 - Transfer Case Drain Plug Sealing Washer
52 - Transfer Case Locating Bushing

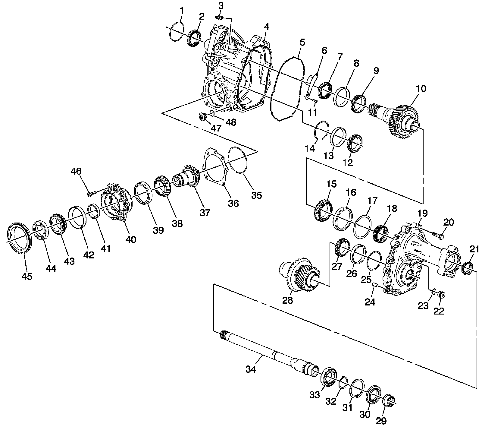
Transfer Case Components (MH4)




1 - Transmission-to-Transfer Case O-ring Seal
2 - Input Shaft Front Seal
3 - Transfer Case Vent Hose Connector
4 - Transfer Case Housing
5 - Transfer Case Rear Extension Housing-to-Transfer Case Seal
6 - Transfer Case Vent Baffle
7 - Input Shaft Rear Seal
8 - Input Shaft Front Bearing Race
9 - Input Shaft Front Bearing
10 - Input Shaft
11 - Transfer Case Vent Baffle Bolt
12 - Idler Shaft Front Bearing
13 - Idler Shaft Front Bearing Race
14 - Idler Shaft Front Bearing Shim
15 - Input Shaft Rear Bearing
16 - Input Shaft Rear Bearing Race
17 - Input Shaft Rear Bearing Shim
18 - Input Shaft Bearing Retainer Rear Seal
19 - Rear Extension Housing
20 - Transfer Case-to-Rear Extension Housing Bolt
21 - Intermediate Shaft Seal
22 - Transfer Case Fill Plug
23 - Transfer Case Fill Plug Sealing Washer
24 - Transfer Case-to-Rear Extension Housing Locating Pin
25 - Idler Shaft Rear Bearing Shim
26 - Idler Shaft Rear Bearing Race
27 - Idler Shaft Rear Bearing
28 - Idler Shaft
29 - Transfer Case Seal
30 - Intermediate Shaft Dirt Deflector
31 - Intermediate Shaft Assembly Retaining Ring
32 - Intermediate Shaft Bearing Retaining Ring
33 - Intermediate Shaft Bearing
34 - Intermediate Shaft
35 - Rear Output Shaft Housing O-ring Seal
36 - Rear Output Shaft Shim
37 - Rear Output Shaft
38 - Rear Output Shaft Bearing
39 - Rear Output Shaft Bearing Race
40 - Rear Output Shaft Housing
41 - Rear Output Shaft Bearing Spacer
42 - Rear Output Shaft Bearing Race
43 - Rear Output Shaft Bearing
44 - Rear Output Drive Gear Nut
45 - Rear Output Shaft Seal
46 - Rear Output Shaft Housing Bolt
47 - Transfer Case Drain Plug
48 - Transfer Case Drain Plug Sealing Washer

Transfer Case Seal View




1 - Transfer Case-to-Transmission Seal

Vent Hose Assembly




1 - Vent Hose Assembly
2 - Strap
3 - Bolt