LEMON Manuals: Even more car manuals for everyone: 1960-2025
Home >> Cadillac >> 2011 >> STS AWD >> Repair and Diagnosis (Single Page) >> Quick Lookups >> Wiring Diagrams >> Wiring Systems And Power Management - Component Connector End Views - A/C Clutch Through Fuel Injector 4 >> Component Connector End Views >> Door Control Module- Driver X4
April 5, 2026: LEMON Manuals is launched! Read the announcement.

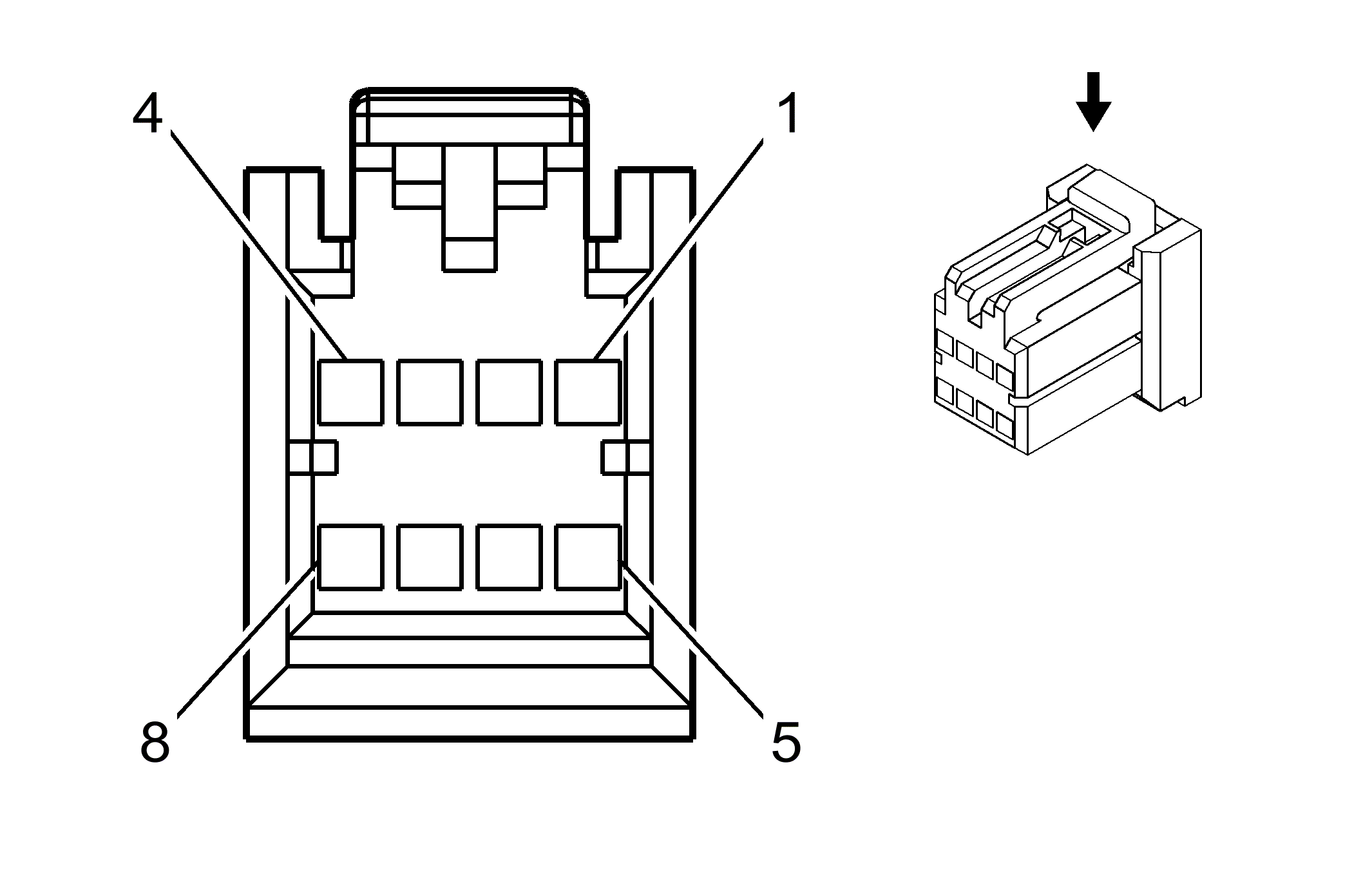
Door Control Module- Driver X4

Fig 1: Connector End View Door Control Module- Driver X4
GM483131Courtesy of GENERAL MOTORS COMPANY
Door Control Module- Driver X4

Pin Wire Circuit Function
1 0.35 L-GN 89 Left Mirror Motor Down Control
2 0.35 YE 88 Left Mirror Motor Up Control
3 0.35 YE 190 Left Folding Mirror Motor Extend Control (DL7)
4 0.35 L-BU 191 Left Folding Mirror Motor Retract Control (DL7)
5 0.35 D-BU 82 Left Mirror Motor Left Control
6 0.35 BK 606 Left Mirror Heating Element Supply Voltage
7 0.35 GY 5855 LED Signal (UFT)
8 0.35 BK 627 Low Reference
Connector Part Information
  • Harness Type: Outside Rearview Mirror - Driver
  • OEM Connector: 175964-2
  • Service Connector: 15306185
  • Description: 8-Way F 040 Multilock Series (BK)
Terminal Part Information
  • Terminated Lead: Service by Connector Assembly- 15306185
  • Release Tool: Not Available
  • Diagnostic Test Probe: Not Available
  • Terminal/Tray: Not Available
  • Core/Insulation Crimp: Not Available