LEMON Manuals: Even more car manuals for everyone: 1960-2025
Home >> Cadillac >> 2011 >> STS AWD >> Repair and Diagnosis (Single Page) >> Quick Lookups >> Wiring Diagrams >> Wiring Systems And Power Management - Component Connector End Views - Fuel Injector 5 Through Radio X4 >> Component Connector End Views >> Instrument Panel Module (IPM) X1
April 5, 2026: LEMON Manuals is launched! Read the announcement.

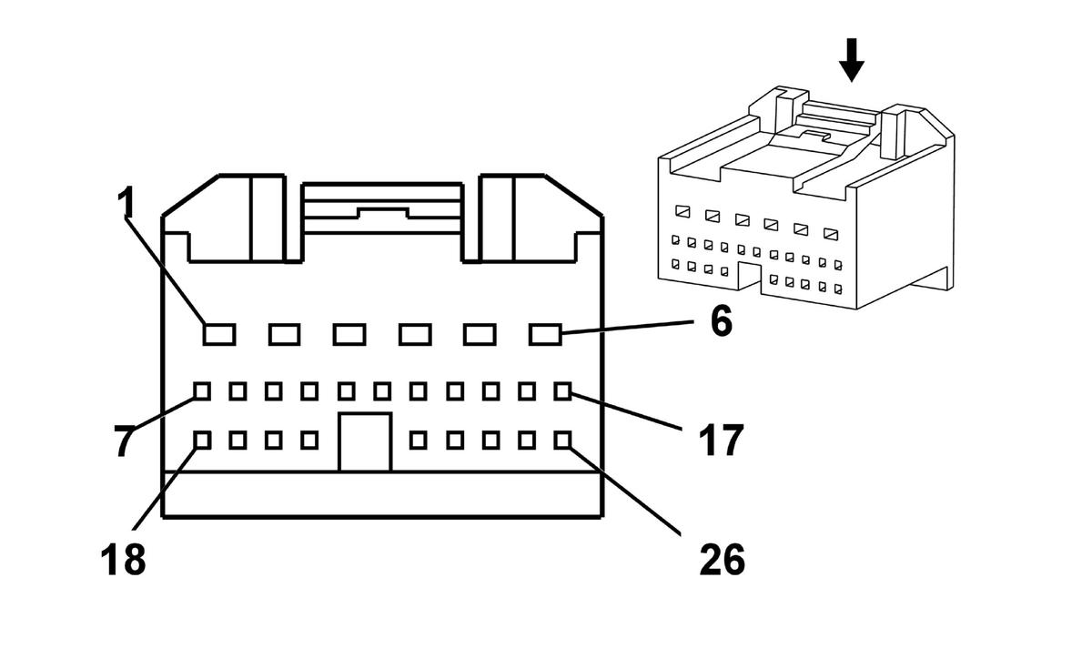
Instrument Panel Module (IPM) X1

Fig 1: Connector End View Instrument Panel Module (IPM) X1
GM1830967Courtesy of GENERAL MOTORS COMPANY
Instrument Panel Module (IPM) X1

Pin Wire Circuit Function
1 0.35 YE 32 Instrument Panel Lamp Fuse Supply Voltage (1)
2 0.35 YE 1491 Backlight Lamp Control
3 0.35 YE 6817 LED Backlight Dimming Control
0.35 YE 6817 LED Backlight Dimming Control
4 - - Not Used
5 0.35 WH 17 Stop Lamp Switch Signal
6 0.35 PK 3 Run/Crank Ignition 1 Voltage
7 - - Not Used
8 0.35 YE/BK 5728 ECM/TCM Serial Data Wake Up
9 0.35 YE 5727 High Speed GMLAN Serial Data Wake Up
10 0.35 PK 5722 Ignition Mode Switch LED Supply Voltage
11 0.35 D-GN 5525 Tap Up/Tap Down Enable Signal
12 0.35 WH 111 Hazard Switch Signal
13 0.35 BN 1356 Flash To Pass Switch Signal
14 0.35 BN/WH 301 Park Lamp Switch On Signal
15 0.35 L-GN 5724 Ignition Mode Switch Mode Control
16 0.35 D-BU 5719 Ignition Mode Switch Start LED Signal
17 0.35 L-GN 5720 Ignition Mode Switch Accessory LED Signal
18 - - Not Used
19 0.35 L-GN 6857 Headlamp Automatic High Beam Dim Status (TQ5)
20 0.35 L-BU 1134 Park Brake Switch Signal
21 0.35 PK/BK 1597 Interior Lamp Switch On Signal
22 0.35 PU 1783 Twilight Sentinel Delay Signal
23 0.35 WH 103 Headlamp Switch On Signal
24 - - Not Used
25 0.35 PU 1375 Remote Radio Control Head Accessory Supply Voltage
26 0.35 OG 5721 Ignition Mode Switch Off LED Signal
Connector Part Information
  • Harness Type: Instrument Panel
  • OEM Connector: 1318757-1
  • Service Connector: 88988290
  • Description: 26-Way M 025/090 Series (WH)
Terminal Part Information
  • Pins: 1, 2, 5, 6
  • Terminated Lead: Pending
  • Release Tool: J-38125-553
  • Diagnostic Test Probe: J-35616-18 (BK)
  • Terminal/Tray: 7116-4020/11
  • Core/Insulation Crimp: E/C
  • Pin: 3
  • Terminated Lead: Pending
  • Release Tool: J-38125-553
  • Diagnostic Test Probe: J-35616-18 (BK)
  • Terminal/Tray: 7116-4021/11
  • Core/Insulation Crimp: Not Available
  • Pins: 8, 9, 10, 11, 12, 13, 14, 15, 16, 17, 19, 20, 21, 22, 23, 25, 26
  • Terminated Lead: Pending
  • Release Tool: J-38125-24
  • Diagnostic Test Probe: J-35616-64B (L-BU)
  • Terminal/Tray: 1123343-2/7
  • Core/Insulation Crimp: J/J