LEMON Manuals: Even more car manuals for everyone: 1960-2025
Home >> Cadillac >> 2011 >> STS AWD >> Repair and Diagnosis (Single Page) >> Quick Lookups >> Wiring Diagrams >> Wiring Systems And Power Management - Component Connector End Views - Radio X5 Through Yaw Sensor >> Component Connector End Views >> Seat Climate Control Module X2 (KA1 or KB6)
April 5, 2026: LEMON Manuals is launched! Read the announcement.

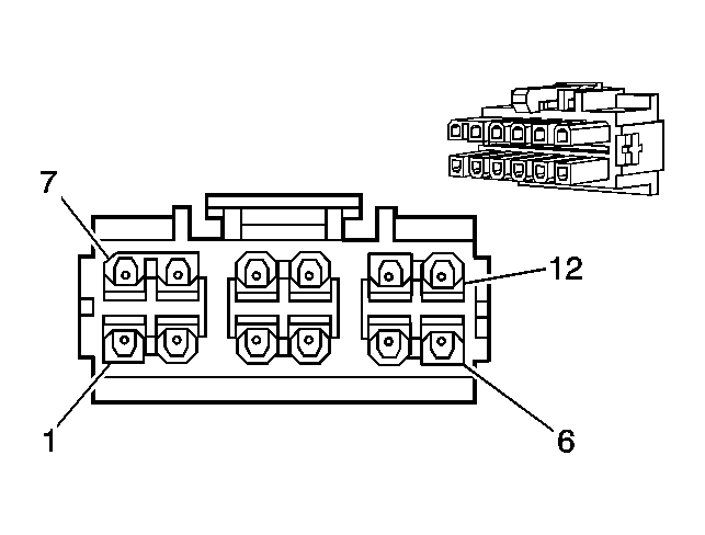
Seat Climate Control Module X2 (KA1 or KB6)

Fig 1: Connector End View Seat Climate Control Module X2 (KA1 OR KB6)
GM1519708Courtesy of GENERAL MOTORS COMPANY
Seat Climate Control Module X2 (KA1 or KB6)

Pin Wire Circuit Function
1-2 - - Not Used
3 0.35 BN 41 Run Ignition 3 Voltage
4 - - Not Used
5 0.35 PK 2435 Low Reference
6 0.8 BK 650 Ground
7 0.35 GY 791 PWM Serial Data
8 0.35 WH 790 PWM Serial Data
9 0.35 WH 5915 Passenger Seat Fan Speed Control (KB6)
10 0.35 YE/BK 2079 Driver Heated Seat NTC Signal
11 0.35 GY 2434 Passenger Heated Seat NTC Signal
12 0.35 OG 5919 Driver Seat Fan Speed Control (KB6)
Connector Part Information
  • Harness Type: Passenger Seat
  • OEM Connector: 15-97-5121
  • Service Connector: Service by Harness - See Part Catalog
  • Description: 12-Way F Mini-Fit Series (BK)
Terminal Part Information
  • Terminated Lead: Pending
  • Release Tool: J-38125-560
  • Diagnostic Test Probe: J-35616-12 (BU)
  • Terminal/Tray: 39-00-0038/23
  • Core/Insulation Crimp: K/K