LEMON Manuals: Even more car manuals for everyone: 1960-2025
Home >> Cadillac >> 2012 >> Escalade EXT >> Repair and Diagnosis (Single Page) >> Electrical >> Body Electrical >> Wiring Systems And Power Management - Component Connector End Views - Memory Seat Module (X5) To Yaw Sensor >> Component Connector End Views >> Starter Motor X1 (except HP2)
April 5, 2026: LEMON Manuals is launched! Read the announcement.

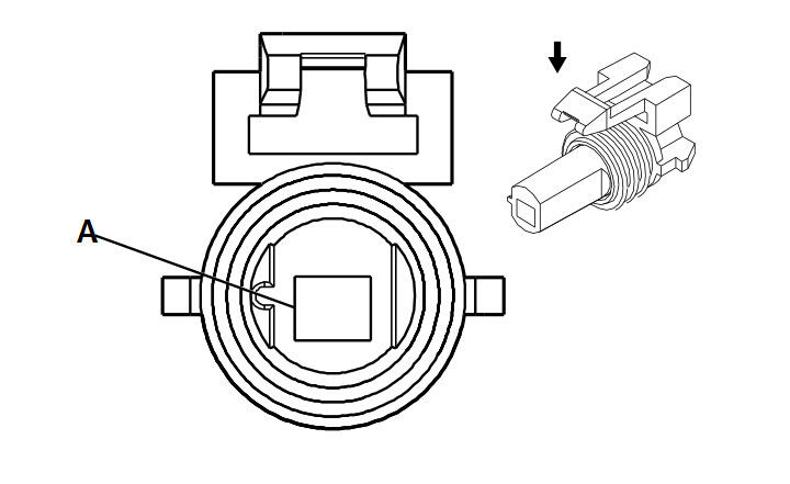
Starter Motor X1 (except HP2)

GM696940Courtesy of
Connector Part Information
  • Harness Type: Engine
  • OEM Connector: 15481001
  • Service Connector: 13584479
  • Description: 1-Way F Metri-Pack 280 Series, Sealed (BK)
Terminal Part Information
  • Terminated Lead: Service by Connector Assembly- 88988118
  • Release Tool: J-38125-11A
  • Diagnostic Test Probe: J-35616-4A (PU)
  • Terminal/Tray: 12077413/4
  • Core/Insulation Crimp: F/5
Starter Motor X1 (except HP2)

Pin Wire Circuit Function
A 3 PU 6 Starter Solenoid Crank Voltage