LEMON Manuals: Even more car manuals for everyone: 1960-2025
Home >> Cadillac >> 2012 >> Escalade EXT >> Repair and Diagnosis (Single Page) >> Electrical >> Wiring Diagrams >> Wiring Systems And Power Management - Component Connector End Views - Electronic Compass Module To Memory Seat Module (X4) >> Component Connector End Views >> Electronic Compass Module (DD8)
April 5, 2026: LEMON Manuals is launched! Read the announcement.

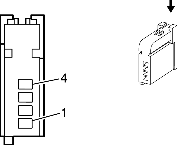
Electronic Compass Module (DD8)

GM1865635Courtesy of
Connector Part Information
  • Harness Type: Headliner
  • OEM Connector: 13541539
  • Service Connector: 13585672
  • Description: 4-Way F AIT II Series (BK)
Terminal Part Information
  • Terminated Lead: 13575867
  • Release Tool: J-38125-215A
  • Diagnostic Test Probe: J-35616-64B (L-BU)
  • Terminal/Tray: SAIT-A03T-M064/14
  • Core/Insulation Crimp: P/P
Electronic Compass Module (DD8)

Pin Wire Circuit Function
1 0.35 PK 1639 Ignition Voltage
2 0.35 BK 1050 Ground
3 0.35 D-GN 6134 Linear Interconnect Network Bus
4 - - Not Used