LEMON Manuals: Even more car manuals for everyone: 1960-2025
Home >> Cadillac >> 2012 >> Escalade EXT >> Repair and Diagnosis (Single Page) >> Electrical >> Wiring Diagrams >> Wiring Systems And Power Management - Component Connector End Views - Electronic Compass Module To Memory Seat Module (X4) >> Component Connector End Views >> Fuel Pump Flow Control Module (without JL1)
April 5, 2026: LEMON Manuals is launched! Read the announcement.

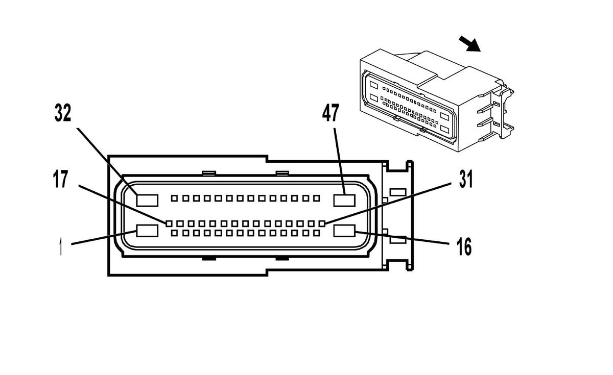
Fuel Pump Flow Control Module (without JL1)

GM1711002Courtesy of
Connector Part Information
  • Harness Type: Chassis
  • OEM Connector: 13570967
  • Service Connector: 19168025
  • Description: 47-Way F 0.64 6.3 Series, Sealed (BK)
Terminal Part Information
  • Pins: 1, 16, 32, 47
  • Terminated Lead: 13579754
  • Release Tool: J-38125-553
  • Diagnostic Test Probe: J-35616-42 (RD)
  • Terminal/Tray: 15476168/5
  • Core/Insulation Crimp: F/3
  • Pins: 5-7, 10, 13, 15, 17, 21, 22, 36, 44
  • Terminated Lead: 13579774
  • Release Tool: J-38125-215A
  • Diagnostic Test Probe: J-35616-64 (L-BU)
  • Terminal/Tray: SAITS-A03T-M064/14
  • Core/Insulation Crimp: 9/9
Fuel Pump Flow Control Module (without JL1)

Pin Wire Circuit Function
1 3 BK 2250 Ground
2-4 - - Not Available
5 0.5 GY 7447 Low Reference
6 0.5 TN 2501 High Speed GMLAN Serial Data -
7 0.5 TN/BK 2500 High Speed GMLAN Serial Data +
8-9 - - Not Available
10 0.5 PU 7446 Fuel Line Pressure Sensor Signal
11-12 - - Not Available
13 0.5 D-GN/WH 465 Fuel Pump Control Module Enable
14 - - Not Available
15 0.5 PK 439 Run/Crank Ignition Voltage
16 3 PK 1580 Low Reference
17 0.5 L-BU 5986 Serial Data Communication Enable
18-20 - - Not Available
21 0.5 TN 2501 High Speed GMLAN Serial Data -
22 0.5 TN/BK 2500 High Speed GMLAN Serial Data +
23-31 - - Not Available
32 3 RD/WH 1940 Battery Positive Voltage
33-35 - - Not Available
36 0.5 BN 7445 Reference Voltage
37-43 - - Not Available
44 0.5 GY 7443 Fuel Pump Flow Control Module Shield Extension
45-46 - - Not Available
47 3 GY 120 Fuel Pump Control