LEMON Manuals: Even more car manuals for everyone: 1960-2025
Home >> Cadillac >> 2012 >> Escalade EXT >> Repair and Diagnosis (Single Page) >> Electrical >> Wiring Diagrams >> Wiring Systems And Power Management - Component Connector End Views - Memory Seat Module (X5) To Yaw Sensor >> Component Connector End Views >> Turn Signal Repeater Lamp- Left Front (TR2)
April 5, 2026: LEMON Manuals is launched! Read the announcement.

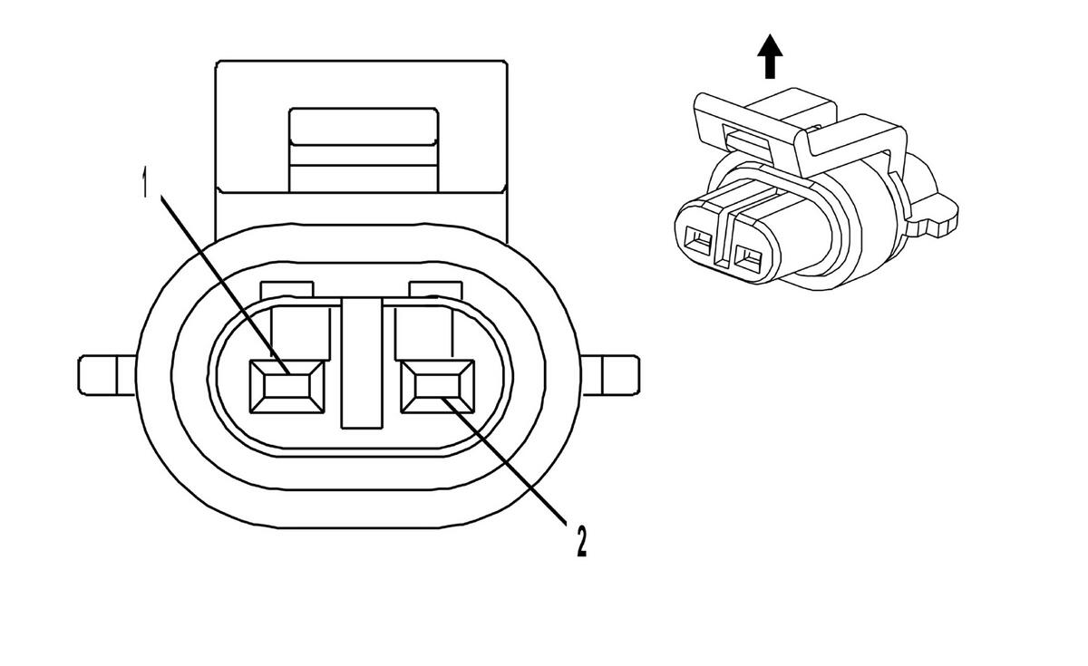
Turn Signal Repeater Lamp- Left Front (TR2)

GM1243632Courtesy of
Connector Part Information
  • Harness Type: Export Side Repeater Jumper
  • OEM Connector: 15336195
  • Service Connector: 88988136
  • Description: 2-Way F GT 150 Series, Sealed (BK)
Terminal Part Information
  • Terminated Lead: 13575412
  • Release Tool: J-38125-553
  • Diagnostic Test Probe: J-35616-2A (GY)
  • Terminal/Tray: 12191819/8
  • Core/Insulation Crimp: 2/1
Turn Signal Repeater Lamp- Left Front (TR2)

Pin Wire Circuit Function
1 0.8 YE/BK 1334 Left Rear Turn Signal Lamp Control
2 0.8 BK 150 Ground