LEMON Manuals: Even more car manuals for everyone: 1960-2025
Home >> Cadillac >> 2012 >> Escalade EXT >> Repair and Diagnosis (Single Page) >> Electrical >> Wiring Diagrams >> Wiring Systems And Power Management - Component Connector End Views - Memory Seat Module (X5) To Yaw Sensor >> Component Connector End Views >> Turn Signal/Multifunction Switch X3
April 5, 2026: LEMON Manuals is launched! Read the announcement.

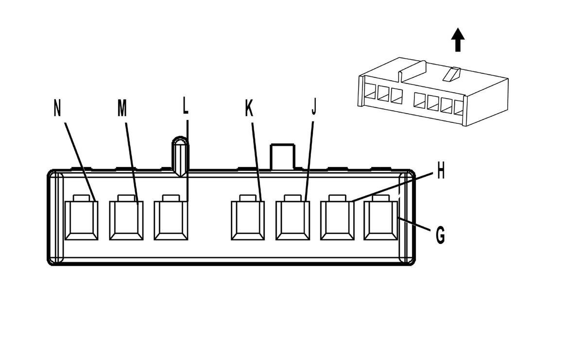
Turn Signal/Multifunction Switch X3

GM811190Courtesy of
Connector Part Information
  • Harness Type: Steering Column
  • OEM Connector: 15339058
  • Service Connector: Service by Harness - See Part Catalog
  • Description: 7-Way F Metri-Pack 150 Series (GY)
Terminal Part Information
  • Terminated Lead: 13575464
  • Release Tool: J-38125-12A
  • Diagnostic Test Probe: J-35616-14 (GN)
  • Terminal/Tray: 15326030/5
  • Core/Insulation Crimp: E/C
Turn Signal/Multifunction Switch X3

Pin Wire Circuit Function
G-J - - Not Used
K 0.35 L-GN 1715 Windshield Wiper Switch High Signal
L 0.35 PK 94 Windshield Washer Switch Signal
M 0.35 TN/BK 6009 Low Reference
N 0.35 L-BU 1714 Windshield Wiper Switch Low Signal