LEMON Manuals: Even more car manuals for everyone: 1960-2025
Home >> Cadillac >> 2012 >> Escalade EXT >> Repair and Diagnosis (Single Page) >> Quick Lookups >> Wiring Diagrams >> Wiring Systems And Power Management - Component Connector End Views - Electronic Compass Module To Memory Seat Module (X4) >> Component Connector End Views >> Heated Seat Element - Passenger Back (HP2, KA1 or KB6)
April 5, 2026: LEMON Manuals is launched! Read the announcement.

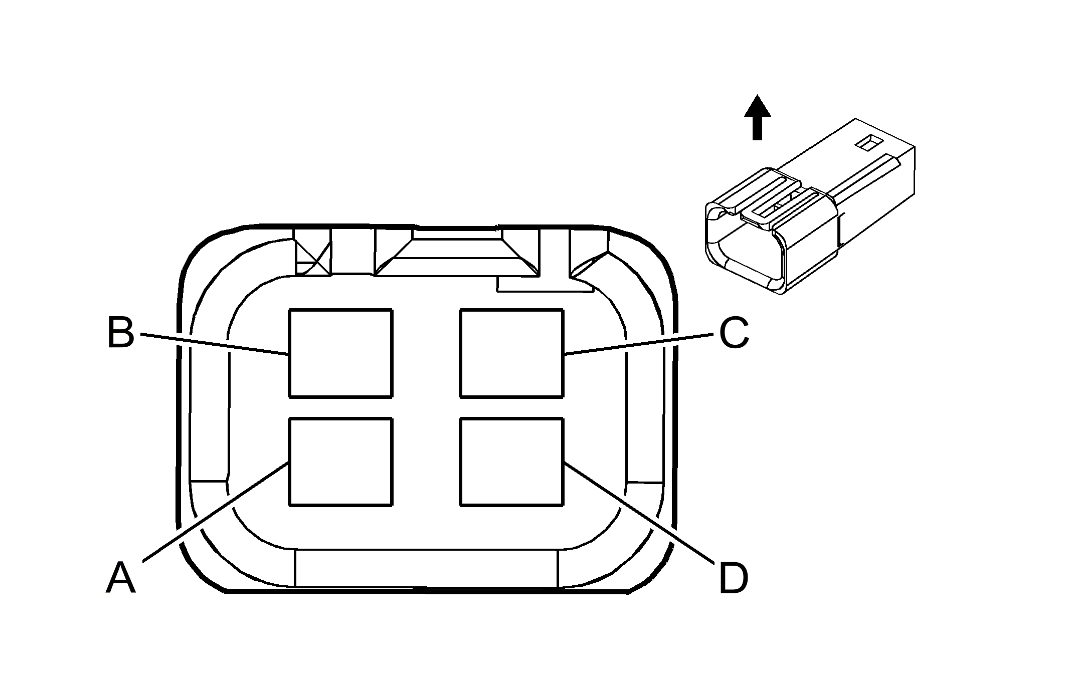
Heated Seat Element - Passenger Back (HP2, KA1 or KB6)

GM283890Courtesy of
Connector Part Information
  • Harness Type: Passenger Seat
  • OEM Connector: 12066498 (HP2)
  • OEM Connector: 15419810 (Except HP2)
  • Service Connector: 12085536
  • Description: 4-Way M Metri-Pack 150 Series (BK)
Terminal Part Information
  • Pins: A, B
  • Terminated Lead: 13505668
  • Release Tool: J-38125-12A
  • Diagnostic Test Probe: J-35616-3 (GY)
  • Terminal/Tray: 12047581/2
  • Core/Insulation Crimp: E/C
  • Pins: C, D
  • Terminated Lead: 13575462
  • Release Tool: J-38125-12A
  • Diagnostic Test Probe: J-35616-3 (GY)
  • Terminal/Tray: 12047581/2
  • Core/Insulation Crimp: E/A
Heated Seat Element - Passenger Back (HP2, KA1 or KB6)

Pin Wire Circuit Function
A 1 D-BU 2479 Heated Seat Cushion Element Control
B 1 L-BU 2433 Ground
C 0.35 TN 2436 Passenger Heated Seat Back Temperature Sensor Signal
D 0.35 TN/BK 2482 Low Reference