LEMON Manuals: Even more car manuals for everyone: 1960-2025
Home >> Cadillac >> 2012 >> Escalade EXT >> Repair and Diagnosis (Single Page) >> Quick Lookups >> Wiring Diagrams >> Wiring Systems And Power Management - Component Connector End Views - Electronic Compass Module To Memory Seat Module (X4) >> Component Connector End Views >> Inflatable Restraint Passenger Presence System (PPS) Module (without HP2 or Z75 with HP2)
April 5, 2026: LEMON Manuals is launched! Read the announcement.

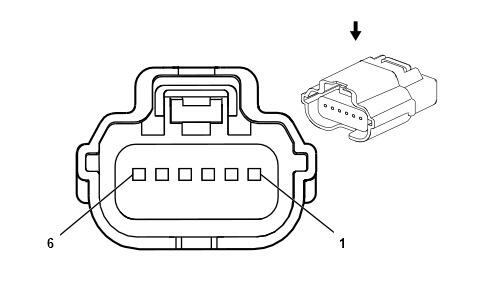
Inflatable Restraint Passenger Presence System (PPS) Module (without HP2 or Z75 with HP2)

GM1974974Courtesy of
Connector Part Information
  • Harness Type: Passenger Seat
  • OEM Connector: 88988771
  • Service Connector: 13577043
  • Description: 6-Way F M64 Series, Sealed (BK)
Terminal Part Information
  • Terminated Lead: Service by Harness - See Part Catalog
  • Release Tool: Not Available
  • Diagnostic Test Probe: J-35616-64B (L-BU)
  • Terminal/Tray: Not Available
  • Core/Insulation Crimp: Not Available
Inflatable Restraint Passenger Presence System (PPS) Module (without HP2 or Z75 with HP2)

Pin Wire Circuit Function
1 0.5 RD/WH 4440 Battery Positive Voltage
2 0.35 D-GN 5060 Low Speed GMLAN Serial Data
3 - - Not Used
4 0.5 BK/WH 2751 Low Reference
5 0.35 D-GN 5612 Passenger Seat Belt Tension Sensor Voltage Reference
6 0.35 D-GN/WH 5611 Passenger Seat Belt Tension Sensor Signal