LEMON Manuals: Even more car manuals for everyone: 1960-2025
Home >> Cadillac >> 2012 >> Escalade EXT >> Repair and Diagnosis (Single Page) >> Quick Lookups >> Wiring Diagrams >> Wiring Systems And Power Management - Component Connector End Views - Memory Seat Module (X5) To Yaw Sensor >> Component Connector End Views >> Seat Belt Buckle - Driver
April 5, 2026: LEMON Manuals is launched! Read the announcement.

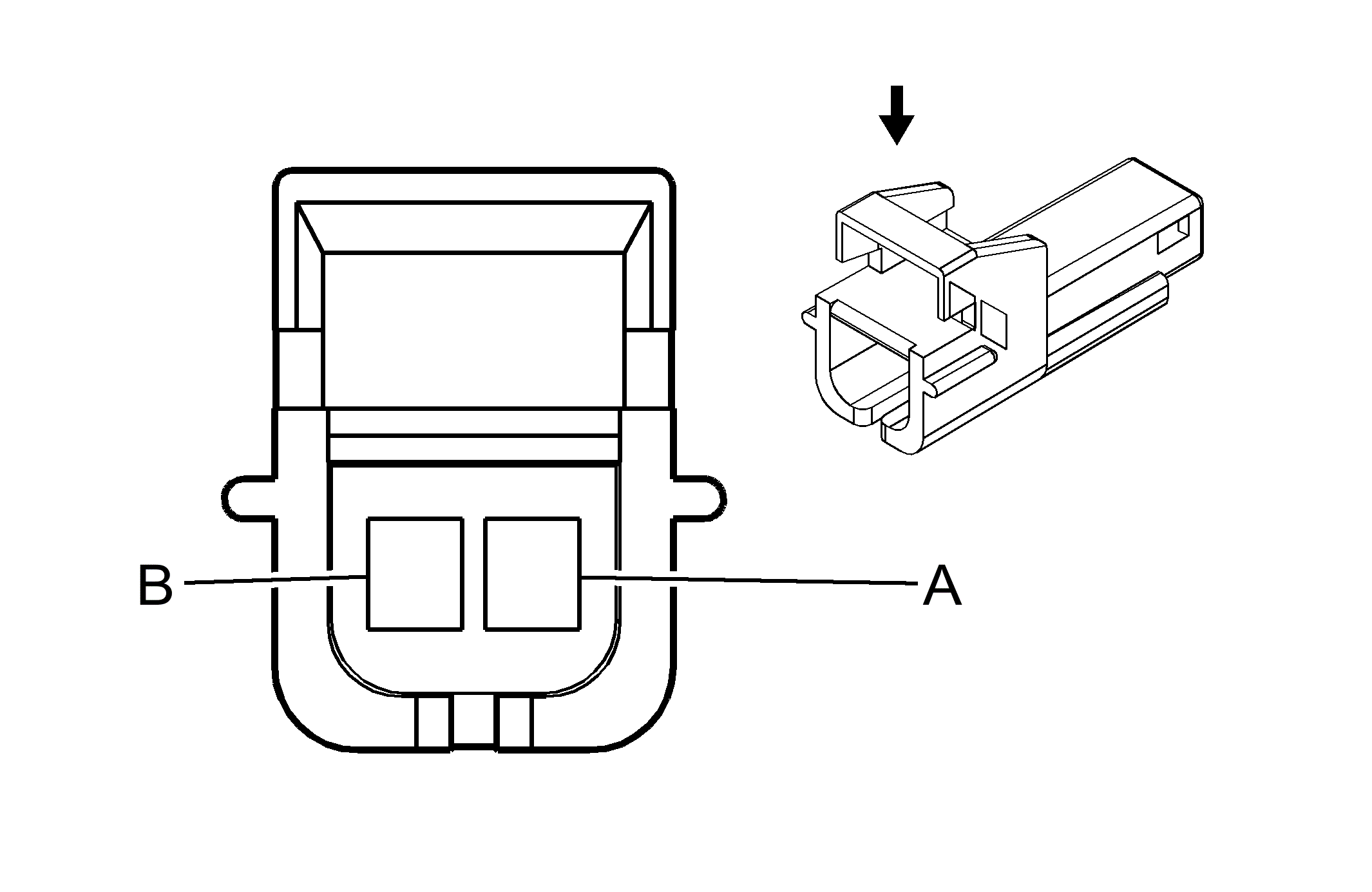
Seat Belt Buckle - Driver

GM766913Courtesy of
Connector Part Information
  • Harness Type: Driver Seat
  • OEM Connector: 12052833
  • Service Connector: 12117275
  • Description: 2-Way M Metri-Pack 150 Series (BK)
Terminal Part Information
  • Terminated Lead: 13575462
  • Release Tool: J-38125-12A
  • Diagnostic Test Probe: J-35616-3 (GY)
  • Terminal/Tray: 12047581/2
  • Core/Insulation Crimp: E/C
Seat Belt Buckle - Driver

Pin Wire Circuit Function
A 0.35 TN/WH 238 Driver Seat Belt Switch Signal
B 0.35 PK 5057 Low Reference