LEMON Manuals: Even more car manuals for everyone: 1960-2025
Home >> Cadillac >> 2012 >> Escalade EXT >> Repair and Diagnosis (Single Page) >> Quick Lookups >> Wiring Diagrams >> Wiring Systems And Power Management - Component Connector End Views - Memory Seat Module (X5) To Yaw Sensor >> Component Connector End Views >> Sunroof Control Module (CF5)
April 5, 2026: LEMON Manuals is launched! Read the announcement.

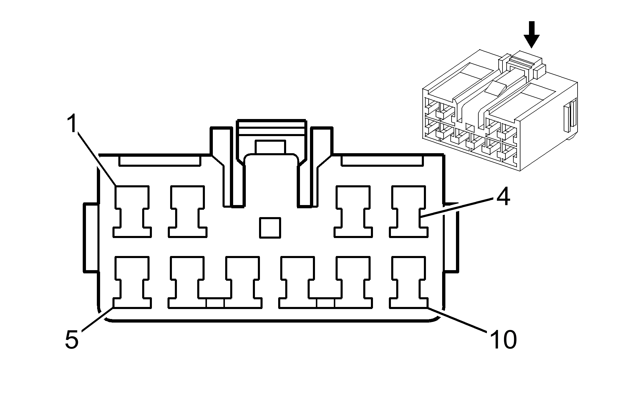
Sunroof Control Module (CF5)

GM1467121Courtesy of
Connector Part Information
  • Harness Type: Sunroof
  • OEM Connector: MG651056
  • Service Connector: Service by Harness - See Part Catalog
  • Description: 10-Way F 090-II Series (WH)
Terminal Part Information
  • Terminated Lead: Service by Harness - See Part Catalog
  • Release Tool: Not Available
  • Diagnostic Test Probe: Not Available
  • Terminal/Tray: Service by Harness - See Part Catalog
  • Core/Insulation Crimp: Not Available
Sunroof Control Module (CF5)

Pin Wire Circuit Function
1 2 RD/WH 3140 Battery Positive Voltage
2 2 BK 1050 Ground
3 0.35 D-GN 2074 Sunroof Switch Express Signal
4 - - Not Used
5 0.35 YE 43 Ignition Voltage
6 0.35 WH 5429 Ignition Voltage
7 0.35 BN 100 Sunroof Switch Open Signal
8 0.35 PK 2075 Sunroof Switch Close Vent Signal
9 0.35 L-BU 110 Sunroof Switch Close Switch Signal
10 0.35 OG/BK 144 Sunroof Switch Open Vent Signal