LEMON Manuals: Even more car manuals for everyone: 1960-2025
Home >> Cadillac >> 2012 >> Escalade EXT >> Repair and Diagnosis (Single Page) >> Quick Lookups >> Wiring Diagrams >> Wiring Systems And Power Management - Component Connector End Views - Memory Seat Module (X5) To Yaw Sensor >> Component Connector End Views >> Theft Deterrent Module (TDM)
April 5, 2026: LEMON Manuals is launched! Read the announcement.

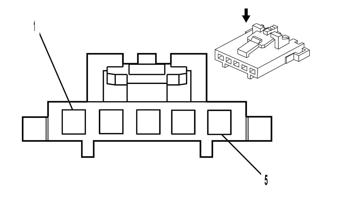
Theft Deterrent Module (TDM)

GM1593355Courtesy of
Connector Part Information
  • Harness Type: Steering Column
  • OEM Connector: 15383337
  • Service Connector: 88988353
  • Description: 5-Way F MISC (BK)
Terminal Part Information
  • Terminated Lead: Service by Connector Assembly - 88988353
  • Release Tool: J-38125-213
  • Diagnostic Test Probe: J-35616-64A (L-BU)
  • Terminal/Tray: 16-02-1110/20
  • Core/Insulation Crimp: H/H
Theft Deterrent Module (TDM)

Pin Wire Circuit Function
1 0.35 RD/WH 540 Battery Positive Voltage
2 0.35 BN 4 Ignition Voltage
3 0.35 BK/WH 1851 Ground
4 0.35 D-GN 5060 Low Speed GMLAN Serial Data
5 - - Not Used