LEMON Manuals: Even more car manuals for everyone: 1960-2025
Home >> Cadillac >> 2012 >> Escalade EXT >> Repair and Diagnosis >> Electrical >> Wiring Diagrams >> Wiring Systems And Power Management - Component Connector End Views - Memory Seat Module (X5) To Yaw Sensor >> Component Connector End Views >> Park Lamp- Right Front (Z75 without T4Q)
April 5, 2026: LEMON Manuals is launched! Read the announcement.

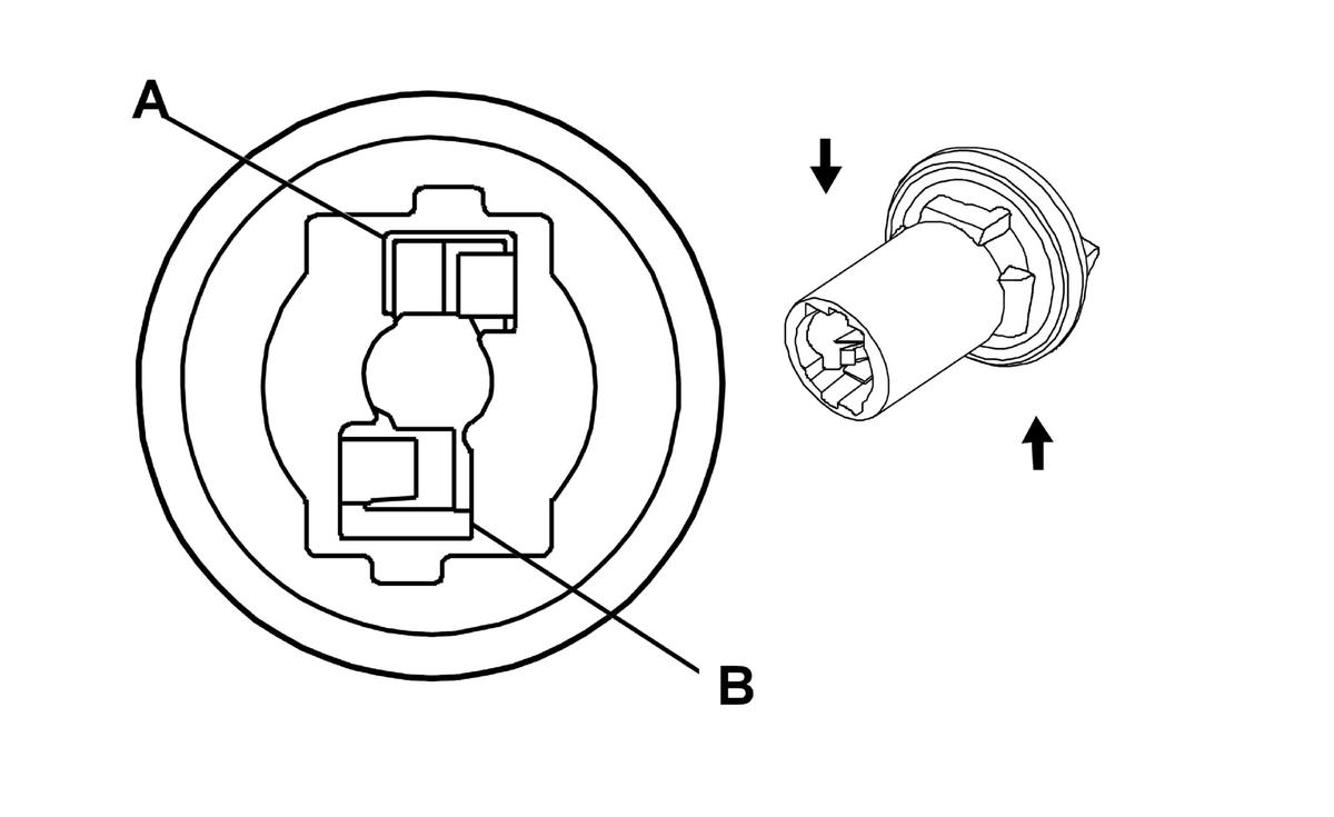
Park Lamp- Right Front (Z75 without T4Q)

GM1860844Courtesy of
Connector Part Information
  • Harness Type: Right Headlamp
  • OEM Connector: 7112-534-4WB
  • Service Connector: Service by Harness- See Part Catalog
  • Description: 2-Way Lamp Socket, Sealed (BK)
Terminal Part Information
  • Terminated Lead: Service by Harness- See Part Catalog
  • Release Tool: Not Available
  • Diagnostic Test Probe: Test Lamp
  • Terminal/Tray: Service by Harness- See Part Catalog
  • Core/Insulation Crimp: Not Available
Park Lamp- Right Front (Z75 without T4Q)

Pin Wire Circuit Function
A 0.8 BN 2609 Right Front Park Lamp Control
0.5 BN 2609 Right Front Park Lamp Control
B 0.8 BK 1750 Ground