LEMON Manuals: Even more car manuals for everyone: 1960-2025
Home >> Cadillac >> 2012 >> Escalade EXT >> Repair and Diagnosis >> Electrical >> Wiring Diagrams >> Wiring Systems And Power Management - Component Connector End Views - Memory Seat Module (X5) To Yaw Sensor >> Component Connector End Views >> Speaker- Left Front (UQA or UQS)
April 5, 2026: LEMON Manuals is launched! Read the announcement.

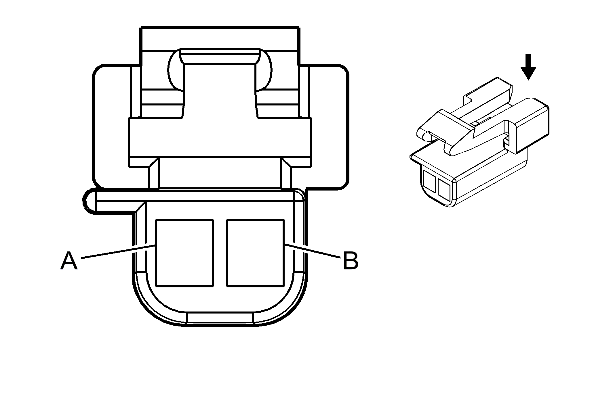
Speaker- Left Front (UQA or UQS)

GM130724Courtesy of
Connector Part Information
  • Harness Type: Driver Door
  • OEM Connector: 12064869
  • Service Connector: 12117323
  • Description: 2-Way F Metri-Pack 150 Series (BU)
Terminal Part Information
  • Terminated Lead: 13575735
  • Release Tool: J-38125-553
  • Diagnostic Test Probe: J-35616-2A (GY)
  • Terminal/Tray: 12191812/19
  • Core/Insulation Crimp: C/A
Speaker- Left Front (UQA or UQS)

Pin Wire Circuit Function
A 0.8 GY 118 Left Front Speaker Output (-)
B 0.8 TN 201 Left Front Speaker Output (+)