LEMON Manuals: Even more car manuals for everyone: 1960-2025
Home >> Cadillac >> 2012 >> Escalade EXT >> Repair and Diagnosis >> External Pages >> Different car >> Section 1089 (General Information) >> Introduction >> Lifting and Jacking the Vehicle >> Notes
April 5, 2026: LEMON Manuals is launched! Read the announcement.

Lifting and Jacking the Vehicle: Notes

WARNING: This page is about a different car, the 2008 Cadillac CTS. However, it is still accessible from the selected car via links, so may be relevant.
Fig 1: Jacking Points for Lifting Equipment
GM279173Courtesy of GENERAL MOTORS CORP.
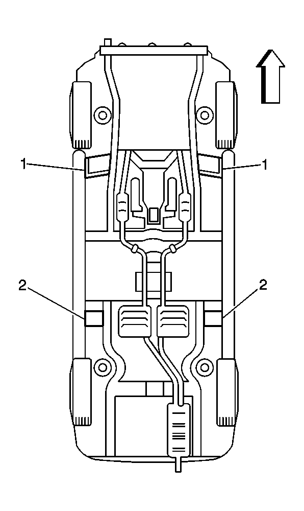
Fig 2: Lifting & Jacking Points
GM623892Courtesy of GENERAL MOTORS CORP.
CAUTION: To help avoid personal injury, always use jack stands when you are working on or under any vehicle that is supported only by a jack.
CAUTION: To avoid any vehicle damage, serious personal injury or death when major components are removed from the vehicle and the vehicle is supported by a hoist, support the vehicle with jack stands at the opposite end from which the components are being removed and strap the vehicle to the hoist.
NOTE: When you are jacking or lifting a vehicle at the frame side rails or other prescribed lift points, be certain that the lift pads do not contact the catalytic converter, the brake pipes or the fuel lines. If such contact occurs, vehicle damage or unsatisfactory vehicle performance may result.

Before beginning any lifting procedure, be sure the vehicle is on a clean, hard, level surface. Be sure all the lifting equipment meets weight standards and is in good working order. Be sure all the vehicle loads are equally distributed and secure. If the vehicle is only being supported at the frame side rails, make sure the lifting equipment does not put too much stress on or weaken the frame side rails (1).

If using any other hoisting methods than those called out, take special care not to damage the fuel tanks, the exhaust system or the underbody.