LEMON Manuals: Even more car manuals for everyone: 1960-2025
Home >> Cadillac >> 2012 >> Escalade EXT >> Repair and Diagnosis >> External Pages >> Different car >> Section 1635 (Engine Control System & Fuel System - 6.6L (LMM) - Description And Operation) >> Description and Operation >> Fuel System Description >> Fuel Tanks
April 5, 2026: LEMON Manuals is launched! Read the announcement.

Fuel Tanks

WARNING: This page is about a different car, the 2010 GMC Sierra, 2010 GMC Cab & Chassis Sierra, 2010 Chevrolet Silverado, and 2010 Chevrolet Cab & Chassis Silverado. However, it is still accessible from the selected car via links, so may be relevant.
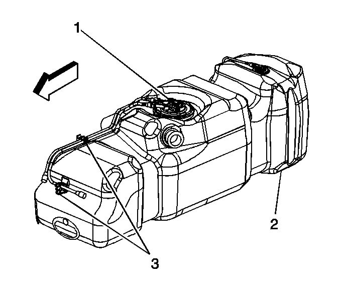
Fig 1: Fuel Tank, Sending Unit & Retaining Clips
GM738174Courtesy of GENERAL MOTORS CORP.

The fuel tanks store the fuel supply. The primary fuel tank (2) is located on the left side of the vehicle. On vehicles that are equipped with dual fuel tanks, the auxiliary fuel tank is located in the rear of the vehicle. The fuel tanks are each held in place by 2 metal straps that attach to the frame. The fuel tanks are molded from high density polyethylene.