LEMON Manuals: Even more car manuals for everyone: 1960-2025
Home >> Cadillac >> 2012 >> Escalade EXT >> Repair and Diagnosis >> External Pages >> Different car >> Section 1711 (Wiring Systems And Power Management - Component Connector End Views - P-R) >> Component Connector End Views - P Through R >> Pressure Control (PC) Solenoid Valve (M30)
April 5, 2026: LEMON Manuals is launched! Read the announcement.

Pressure Control (PC) Solenoid Valve (M30)

WARNING: This page is about a different car, the 2010 GMC Sierra, 2010 GMC Cab & Chassis Sierra, 2010 Chevrolet Silverado, and 2010 Chevrolet Cab & Chassis Silverado. However, it is still accessible from the selected car via links, so may be relevant.
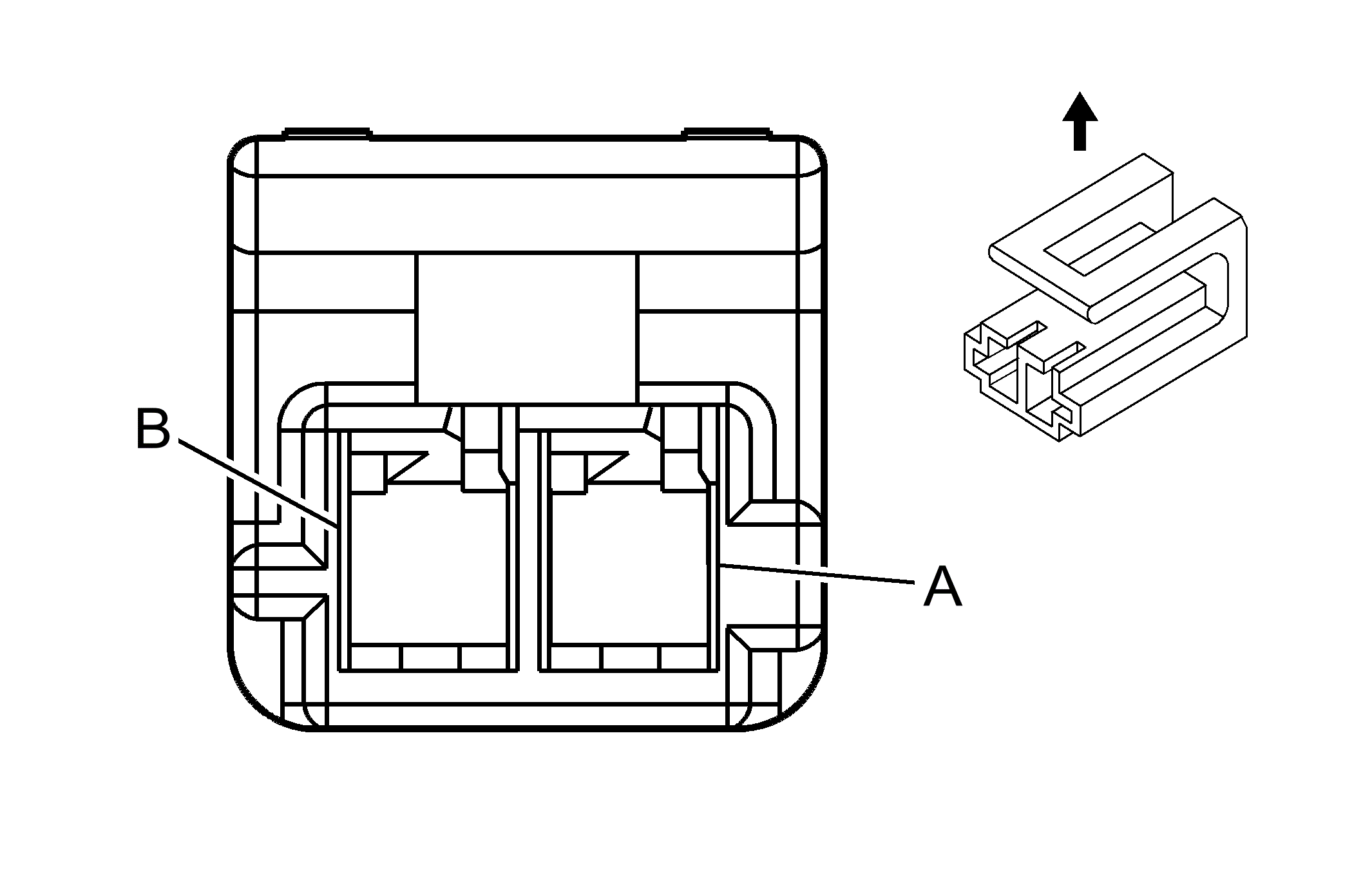
Fig 1: Pressure Control (PC) Solenoid Valve (M30)
GM1910665Courtesy of GENERAL MOTORS CORP.
Pressure Control (PC) Solenoid Valve (M30)

Pin Wire Circuit Function
A 0.5 PU 1228 PC Solenoid Valve High Control
B 0.5 L-BU 1229 PC Solenoid Valve Low Control
Connector Part Information 
  • Harness: Transmission
  • OEM: 15467085
  • Service:Service by Harness - See Part Catalog
  • Description: 2-Way F Metri-Pack 150.2 Series (L-GY)

Terminal Part Information 
  • Terminal/Tray: 12124075/5
  • Core/Insulation Crimp: E/C
  • Release Tool/Test Probe: 12180559-1/J-35616-14 (GN)