LEMON Manuals: Even more car manuals for everyone: 1960-2025
Home >> Cadillac >> 2012 >> Escalade EXT >> Repair and Diagnosis >> External Pages >> Different car >> Section 1917 (Wiring Systems And Power Management - Component Connector End Views Part 2) >> Engine Oil Level (EOL) Switch (Diesel)
April 5, 2026: LEMON Manuals is launched! Read the announcement.

Engine Oil Level (EOL) Switch (Diesel)

WARNING: This page is about a different car, the 2009 GMC Sierra, 2009 GMC Cab & Chassis Sierra, 2009 Chevrolet Silverado, and 2009 Chevrolet Cab & Chassis Silverado. However, it is still accessible from the selected car via links, so may be relevant.
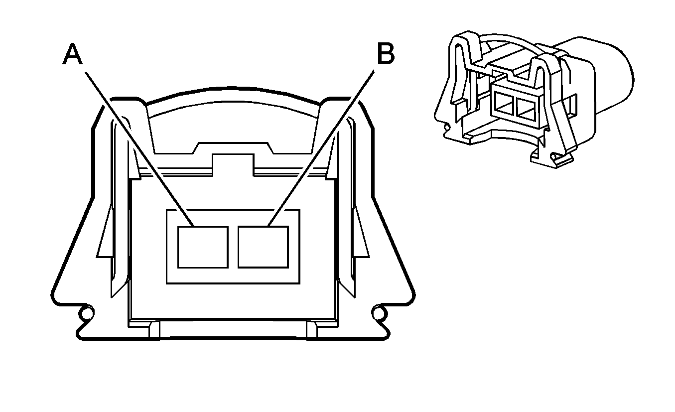
Fig 1: Engine Oil Level (EOL) Switch (Diesel) Connector End View
GM258295Courtesy of GENERAL MOTORS CORP.
Engine Oil Level (EOL) Switch (Diesel)

Pin Wire Circuit Function
A 0.5 BN IC68 Oil Level Switch Signal
B 0.5 L-GN/WH IC69 Ground
Connector Part Information 
  • OEM: 12065454
  • Service: See Catalog
  • Description: 2-Way F Metri-Pack 280 Series Sealed (BK)
Terminal Part Information 
  • Terminal/Tray: See Terminal Repair Kit
  • Core/Insulation Crimp: See Terminal Repair Kit
  • Release Tool/Test Probe: See Terminal Repair Kit