LEMON Manuals: Even more car manuals for everyone: 1960-2025
Home >> Cadillac >> 2012 >> Escalade EXT >> Repair and Diagnosis >> External Pages >> Different car >> Section 193 (Generators & Regulators) >> Bench Testing >> Rectifier
April 5, 2026: LEMON Manuals is launched! Read the announcement.

Bench Testing: Rectifier

WARNING: This page is about a different car, the 2004 Mazda 3. However, it is still accessible from the selected car via links, so may be relevant.

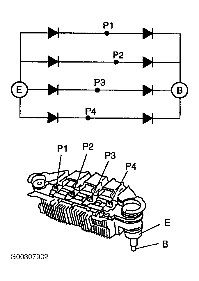
Using DVOM, check diodes for continuity. See RECTIFIER DIODE CONTINUITY  table. See Fig 1. Replace rectifier if not as specified.

RECTIFIER DIODE CONTINUITY

Tester Negative Probe Tester Positve Probe Continuity
E P1, P2, P3 & P4 Yes
B P1, P2, P3 & P4 No
P1, P2, P3 & P4 E No
P1, P2, P3 & P4 B Yes
Fig 1: Testing Rectifier Diodes
G00307902Courtesy of MAZDA MOTORS CORP.