LEMON Manuals: Even more car manuals for everyone: 1960-2025
Home >> Cadillac >> 2012 >> Escalade EXT >> Repair and Diagnosis >> External Pages >> Different car >> Section 249 (Stationary Window System) >> Repair Instructions >> Rearview Mirror Replacement >> Installation Procedure
April 5, 2026: LEMON Manuals is launched! Read the announcement.

Installation Procedure

WARNING: This page does not describe the selected car, but rather 6 other vehicles, including the 2003 GMC Savana Special, 2003 GMC Savana Camper Special, 2003 GMC Savana, 2003 Chevrolet RV Cutaway, and 2003 Chevrolet Cutaway. However, it is still accessible from the selected car via links, so may be relevant.
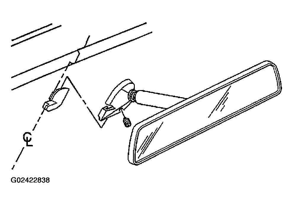
  1. Install the mirror to the mounting pad.
  2. Tighten the set screw that retains the mirror base to the mounting pad.
    Fig 1: Installing Rearview Mirror
    G02422838Courtesy of GENERAL MOTORS CORP.