LEMON Manuals: Even more car manuals for everyone: 1960-2025
Home >> Cadillac >> 2012 >> Escalade EXT >> Repair and Diagnosis >> External Pages >> Different car >> Section 275 (Engine Control System) >> Control System Diagram >> Except for California Emission Regulation Applicable Model
April 5, 2026: LEMON Manuals is launched! Read the announcement.

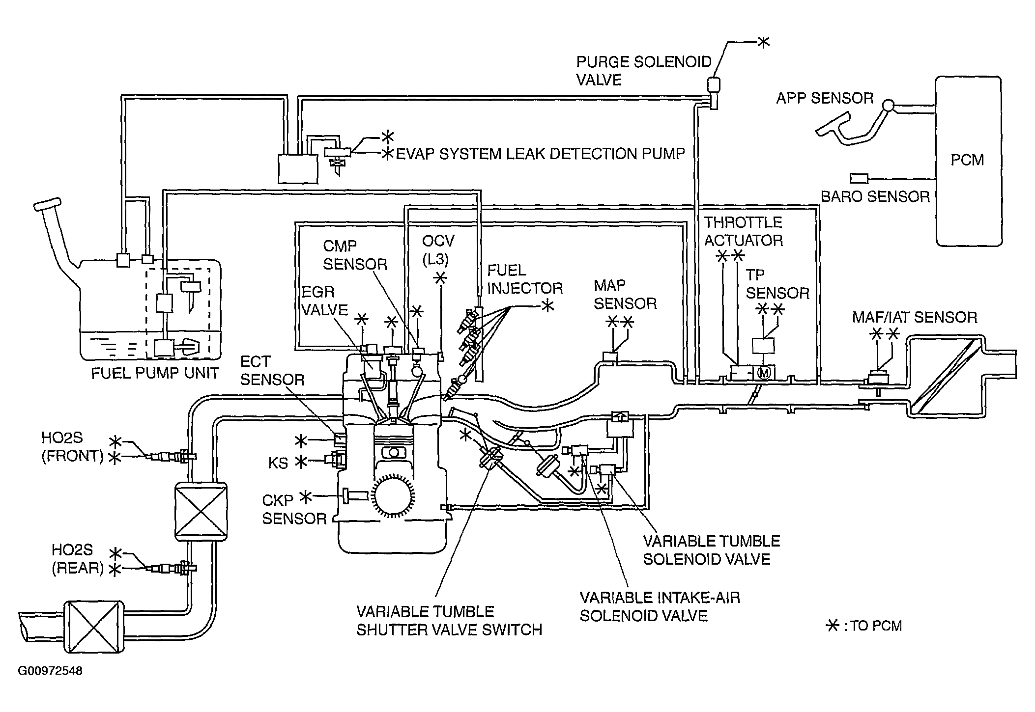
Except for California Emission Regulation Applicable Model

WARNING: This page is about a different car, the 2004 Mazda 3. However, it is still accessible from the selected car via links, so may be relevant.
Fig 1: Control System Diagram-Except For California Emission Regulation Applicable Model
G00972548Courtesy of MAZDA MOTORS CORP.