LEMON Manuals: Even more car manuals for everyone: 1960-2025
Home >> Cadillac >> 2012 >> Escalade EXT >> Repair and Diagnosis >> External Pages >> Different car >> Section 407 (Engine Cooling System) >> Diagnostic Information and Procedures >> Pressure Cap Testing - Starter/Generator Control Module
April 5, 2026: LEMON Manuals is launched! Read the announcement.

Pressure Cap Testing - Starter/Generator Control Module

WARNING: This page is about a different car, the 2004 GMC Sierra, 2004 GMC Cab & Chassis Sierra, 2004 Chevrolet Silverado, and 2004 Chevrolet Cab & Chassis Silverado. However, it is still accessible from the selected car via links, so may be relevant.

Tools Required

    CAUTION: To avoid being burned, do not remove the starter/generator control module (SGCM) cap while the SGCM is hot. The cooling system will release scalding fluid and steam under pressure if the SGCM cap is removed while the SGCM is still hot.
  1. Follow the steps below in order to remove the starter/generator control module (SGCM) coolant tank cap.
    1. Slowly rotate the cap counterclockwise.
    2. Stop rotating and allow the hissing to stop.
    3. After all the hissing stops, continue turning counterclockwise in order to remove the cap.
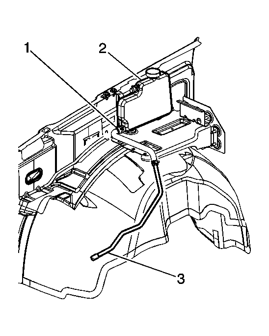
    4. Fig 1: View Of SGCM Coolant Inlet Hose, Coolant Tank & Inlet Hose Clamp
      GM1206674Courtesy of GENERAL MOTORS CORP.
  2. Wash the pressure cap sealing surface with water.
  3. Use the J 24460-01  (1) with the J 46143  in order to test the pressure cap.
  4. Fig 2: Pressure Testing Radiator Cap
    GM850101Courtesy of GENERAL MOTORS CORP.
  5. Test the pressure cap for the following conditions:
    • Pressure release when the J 24460-01  exceeds the pressure rating of the pressure cap.
    • Maintain the rated pressure for at least 10 seconds.

      Note the rate of pressure loss.

  6. Replace the pressure cap under the following conditions:
    • The pressure cap does not release pressure which exceeds the rated pressure of the cap.
    • The pressure cap does not hold the rated pressure.