LEMON Manuals: Even more car manuals for everyone: 1960-2025
Home >> Cadillac >> 2012 >> Escalade EXT >> Repair and Diagnosis >> External Pages >> Different car >> Section 540 (Wiring Systems - Specifications, Component Views And Connector End Views) >> Component Locator >> Electrical Center Identification Views >> Fuse Block - I/P Bottom View >> I/P C8
April 5, 2026: LEMON Manuals is launched! Read the announcement.

I/P C8

WARNING: This page is about a different car, the 2004 Chevrolet Corvette. However, it is still accessible from the selected car via links, so may be relevant.
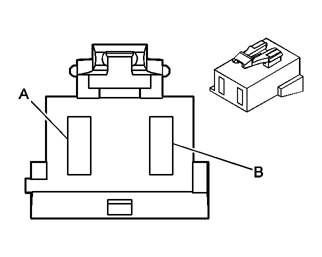
Fuse Block Terminal Identification - I/P C8

GM365958Courtesy of GENERAL MOTORS CORP.
Connector Part Information
  • 12160606
  • 2-Way F MaxiFuse (BRN)
Pin Wire Color Circuit No. Function
A RED 542 Battery Positive Voltage
B - - Not Used