LEMON Manuals: Even more car manuals for everyone: 1960-2025
Home >> Cadillac >> 2012 >> Escalade EXT >> Repair and Diagnosis >> External Pages >> Different car >> Section 541 (Engine Controls (Introduction) -- 5.7L) >> Schematic and Routing Diagrams >> Engine Controls Schematics
April 5, 2026: LEMON Manuals is launched! Read the announcement.

Engine Controls Schematics

WARNING: This page is about a different car, the 2004 Chevrolet Corvette. However, it is still accessible from the selected car via links, so may be relevant.
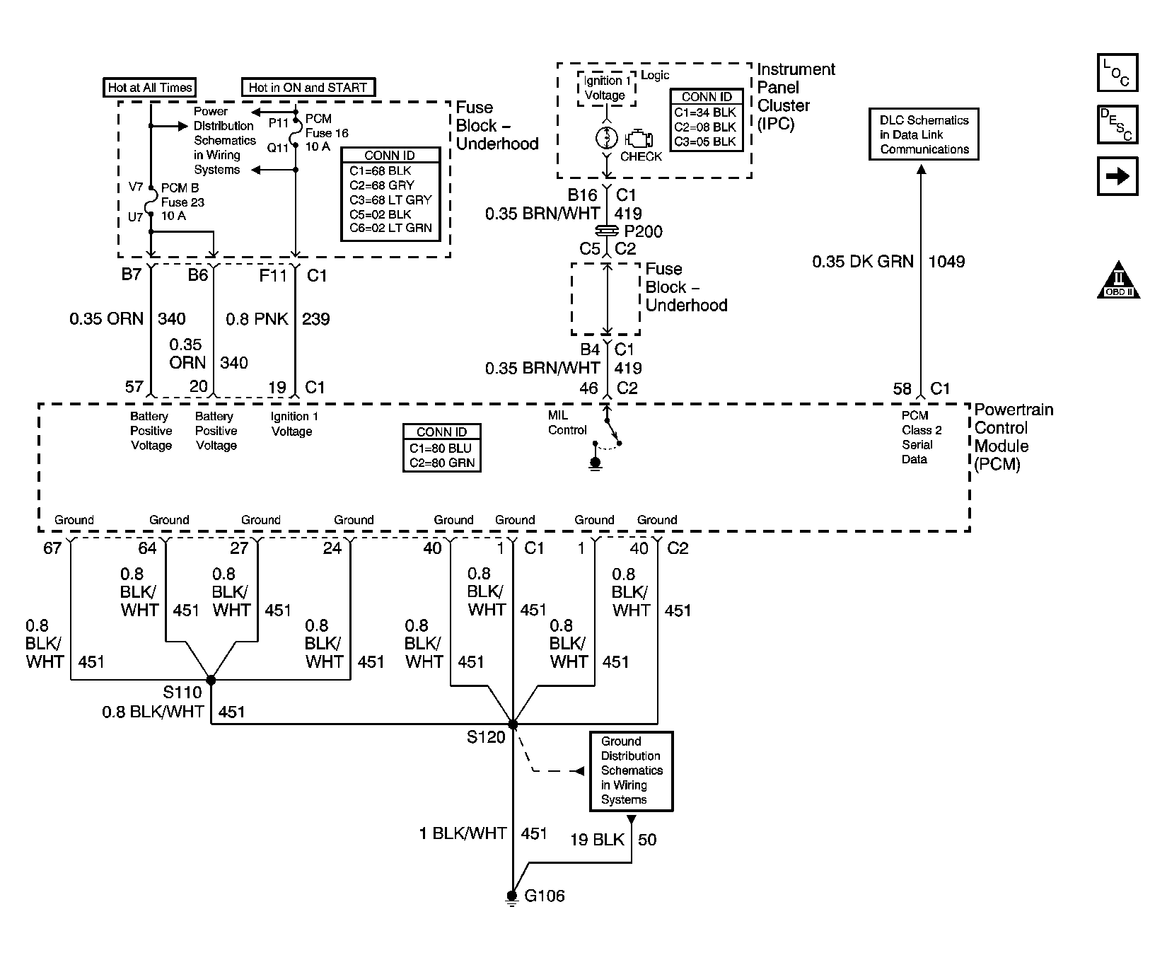
Fig 1: Module Power, Ground, Serial Data And MIL Schematics
GM1221331Courtesy of GENERAL MOTORS CORP.
Fig 2: Engine Data Sensors Schematics - 5-Volt And Low Reference
GM1221351Courtesy of GENERAL MOTORS CORP.
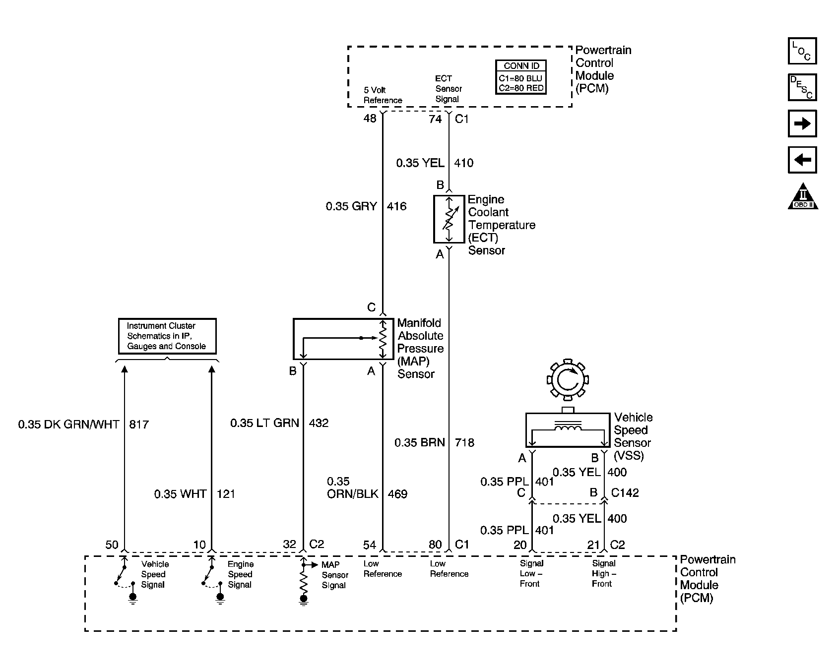
Fig 3: Engine Data Sensors Schematics - Pressure, Temperature And VSS
GM816077Courtesy of GENERAL MOTORS CORP.
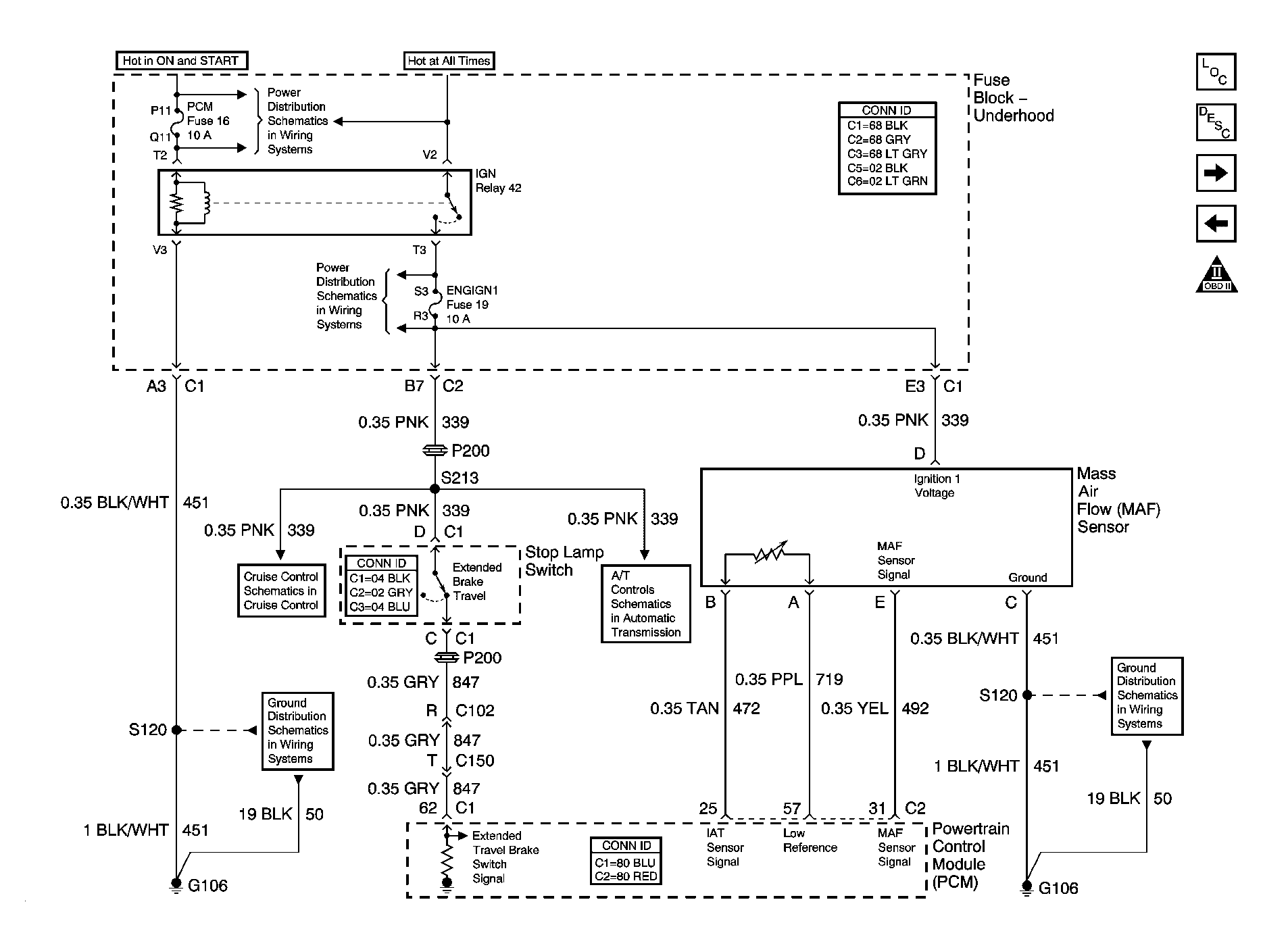
Fig 4: Engine Data Sensors Schematics - MAF And Extended Brake Travel Switch
GM687902Courtesy of GENERAL MOTORS CORP.
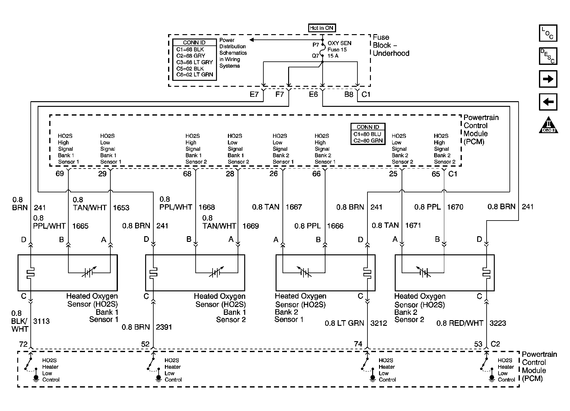
Fig 5: Engine Data Sensors Schematics - HO2S
GM1221368Courtesy of GENERAL MOTORS CORP.
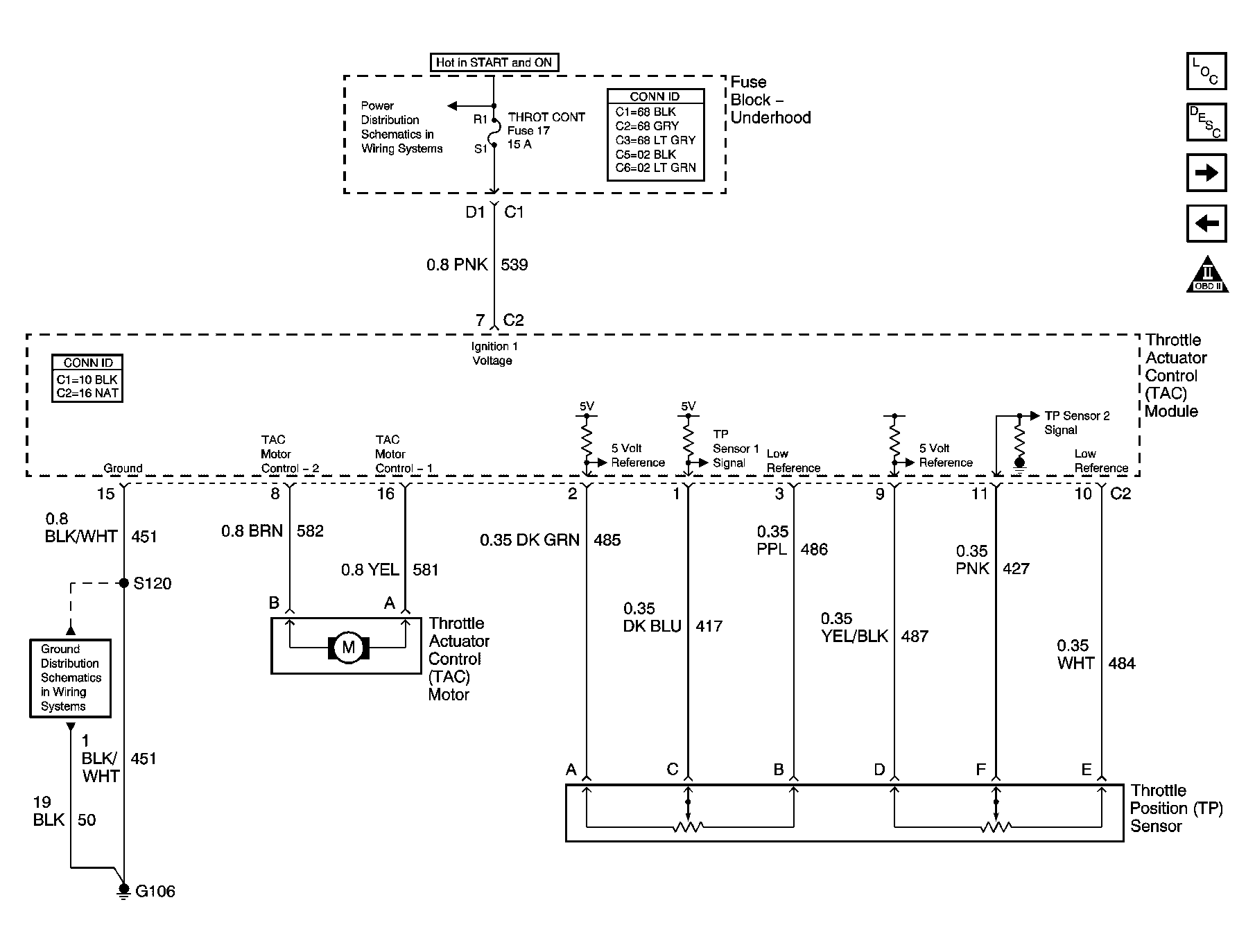
Fig 6: Power, Ground TAC Motor, Module And TP Sensor Schematics
GM805973Courtesy of GENERAL MOTORS CORP.
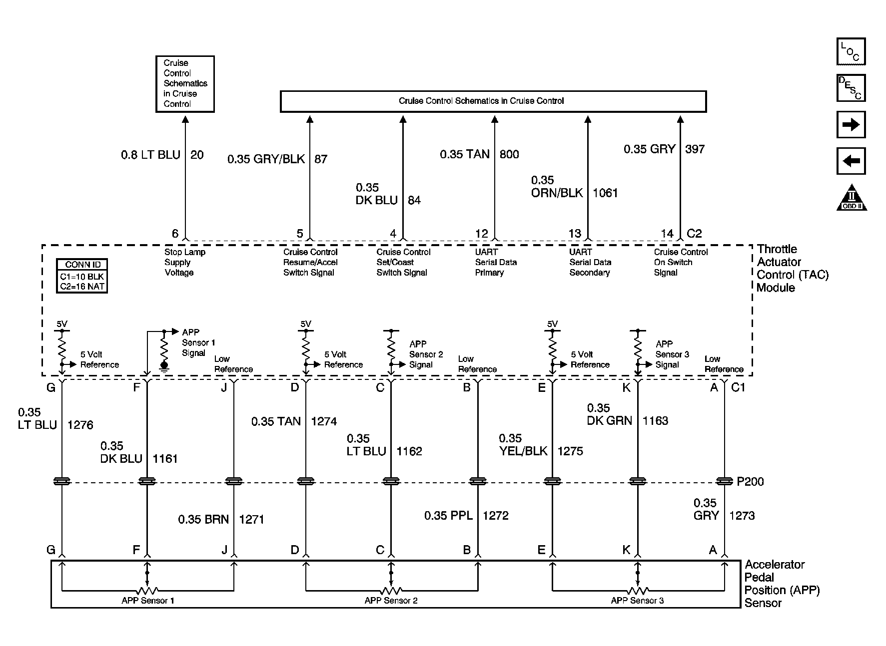
Fig 7: TAC Module APP Sensor And Cruise Reference Schematics
GM805978Courtesy of GENERAL MOTORS CORP.
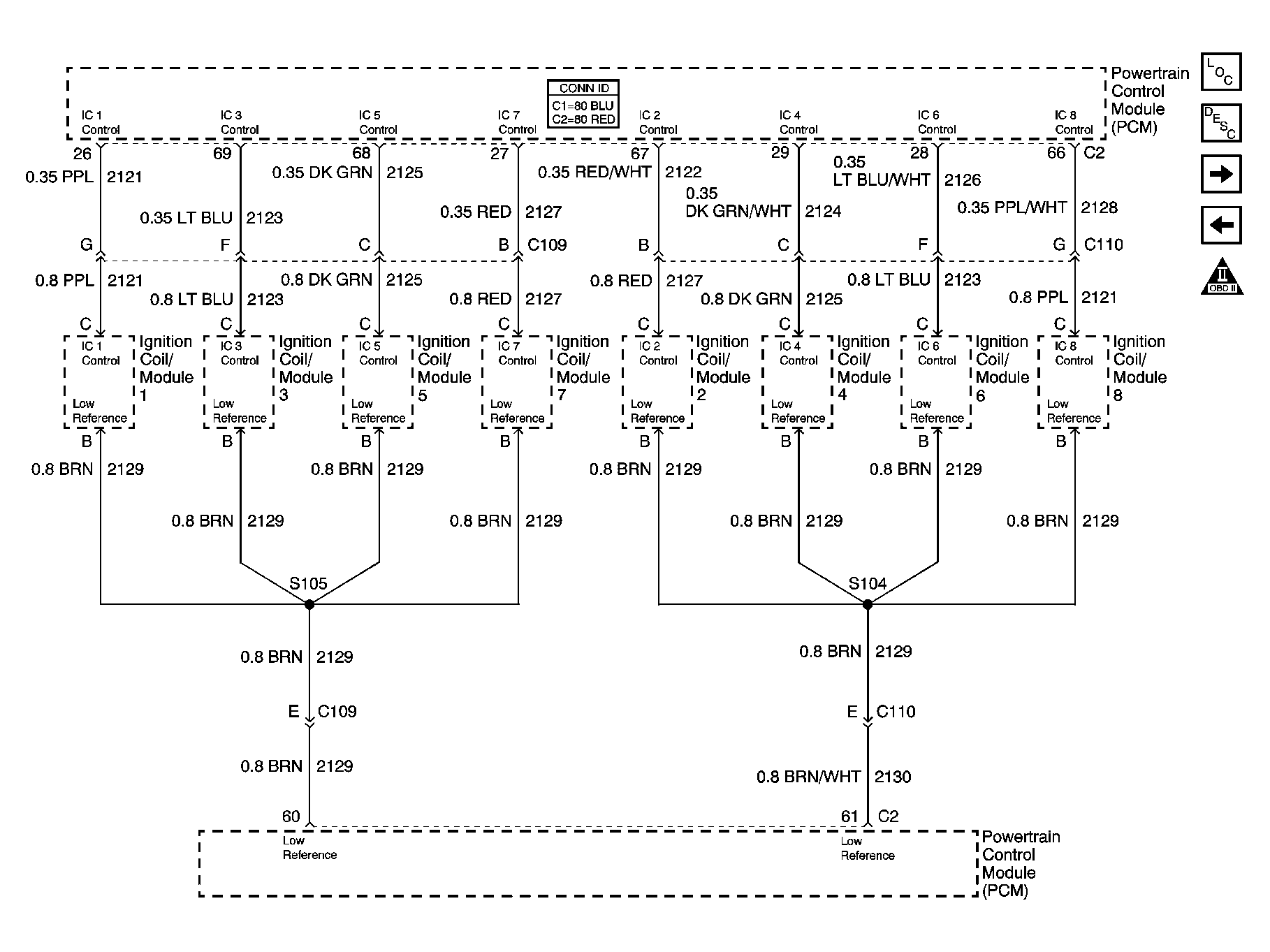
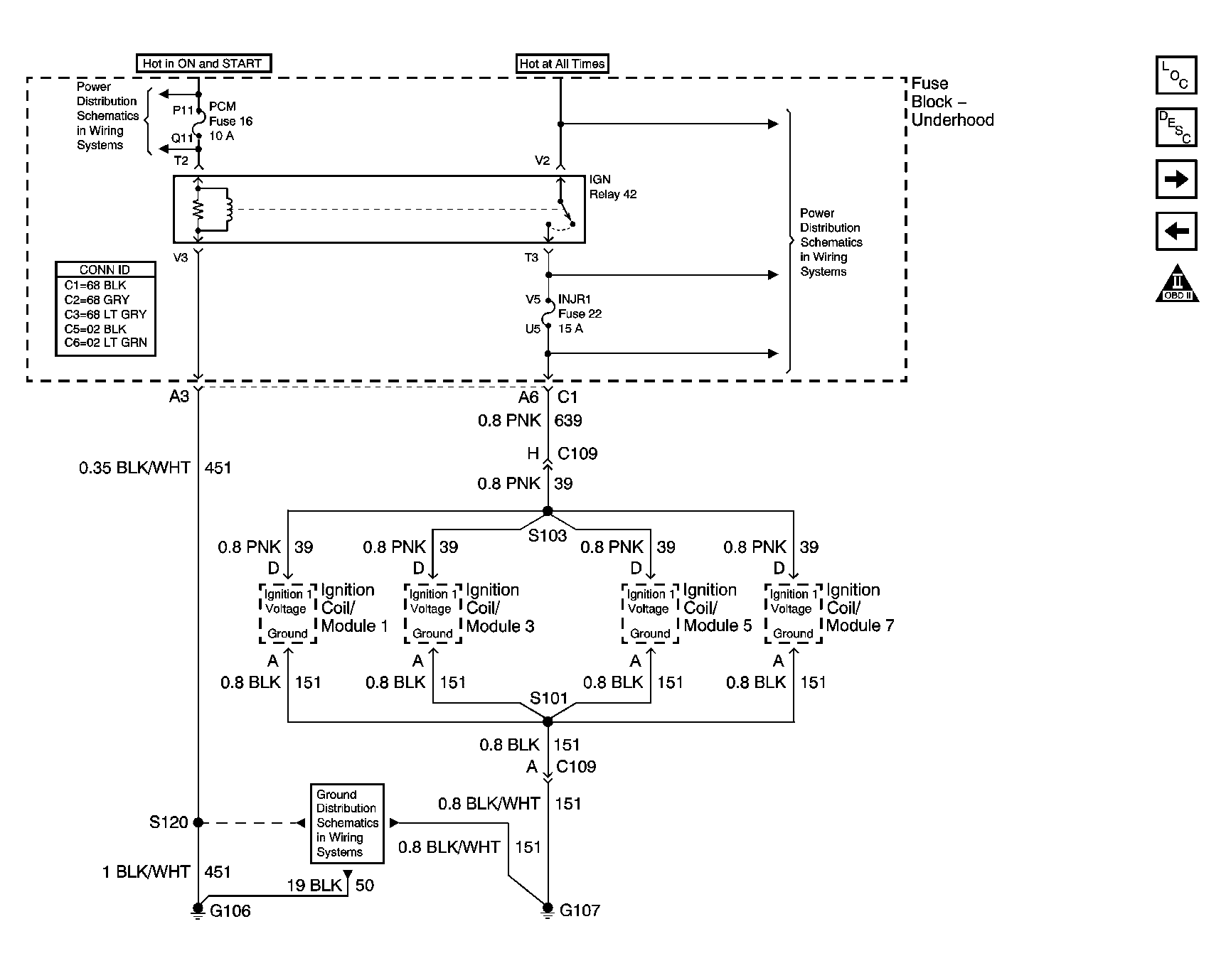
Fig 8: Ignition Controls Schematics - Ignition System 1,3,5,7
GM687872Courtesy of GENERAL MOTORS CORP.
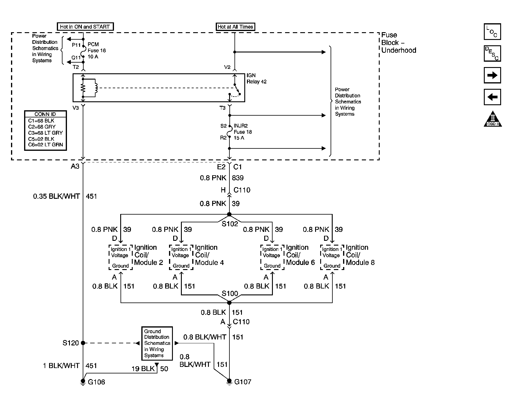
Fig 9: Ignition Controls Schematics - Ignition System 2,4,6,8
GM687880Courtesy of GENERAL MOTORS CORP.
Fig 10: Ignition Controls Schematics - Ignition System Controls
GM687867Courtesy of GENERAL MOTORS CORP.
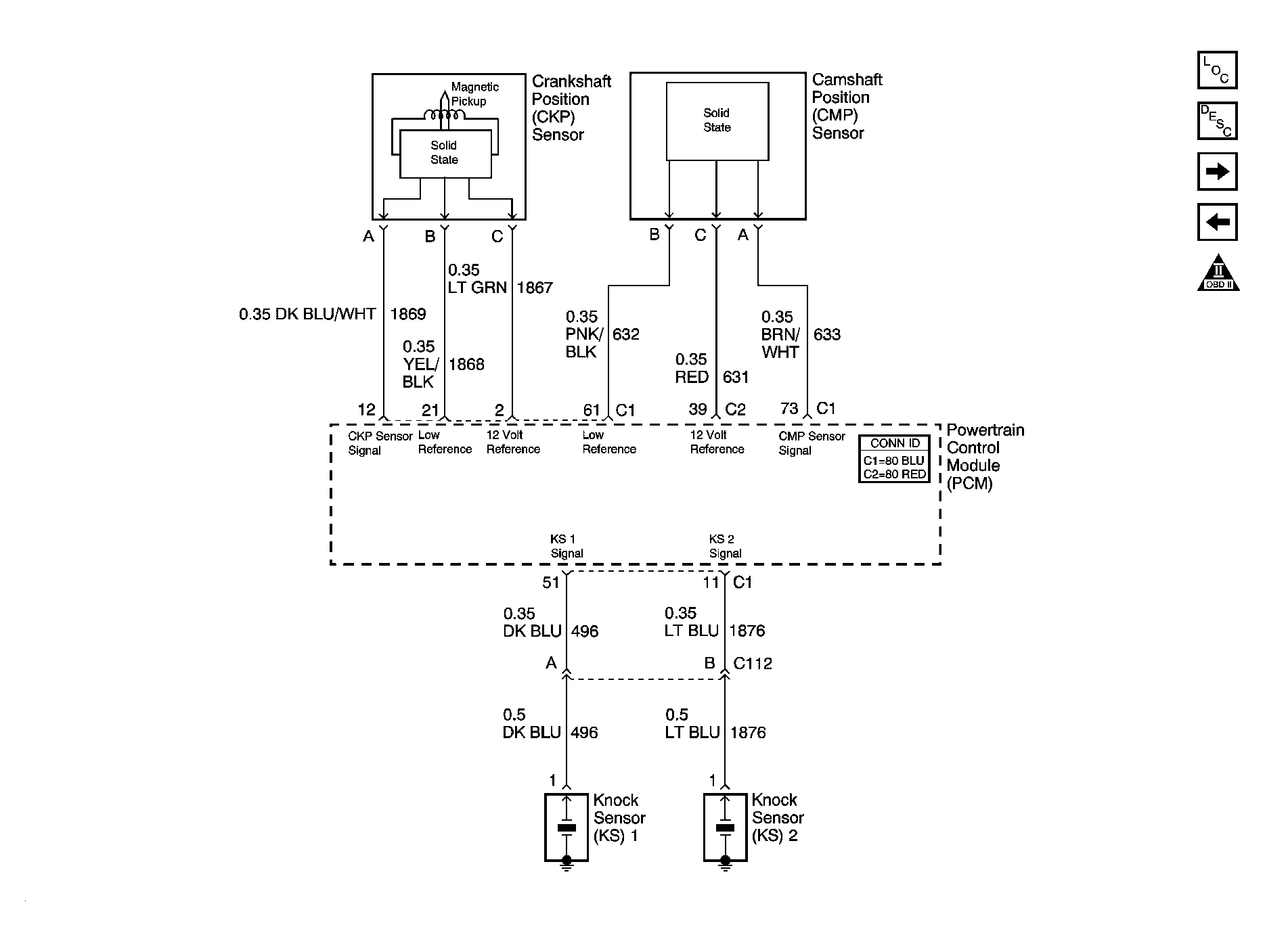
Fig 11: Ignition Controls Schematics - Sensors
GM816051Courtesy of GENERAL MOTORS CORP.
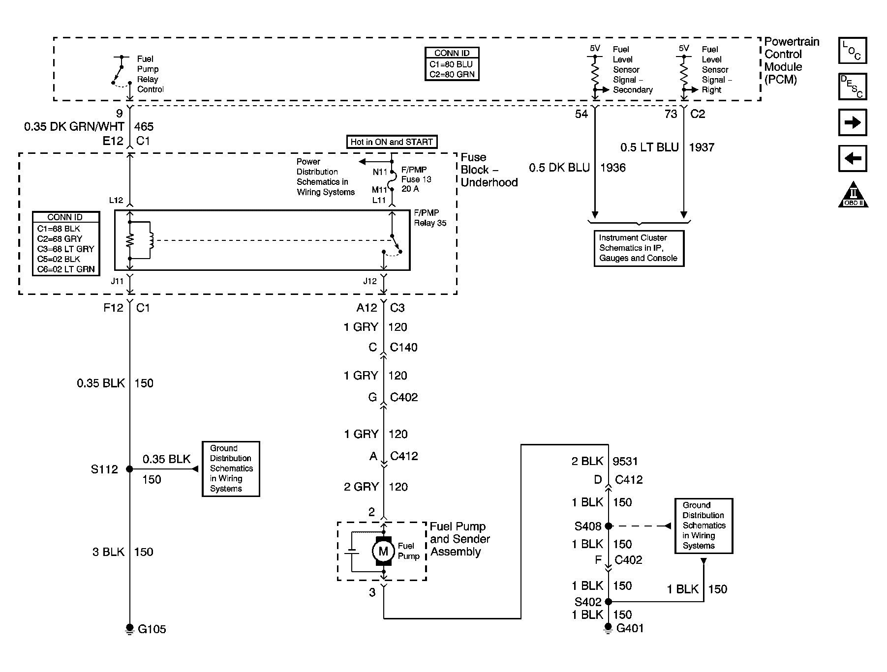
Fig 12: Fuel Controls Schematics - Fuel Pump Controls
GM1221382Courtesy of GENERAL MOTORS CORP.
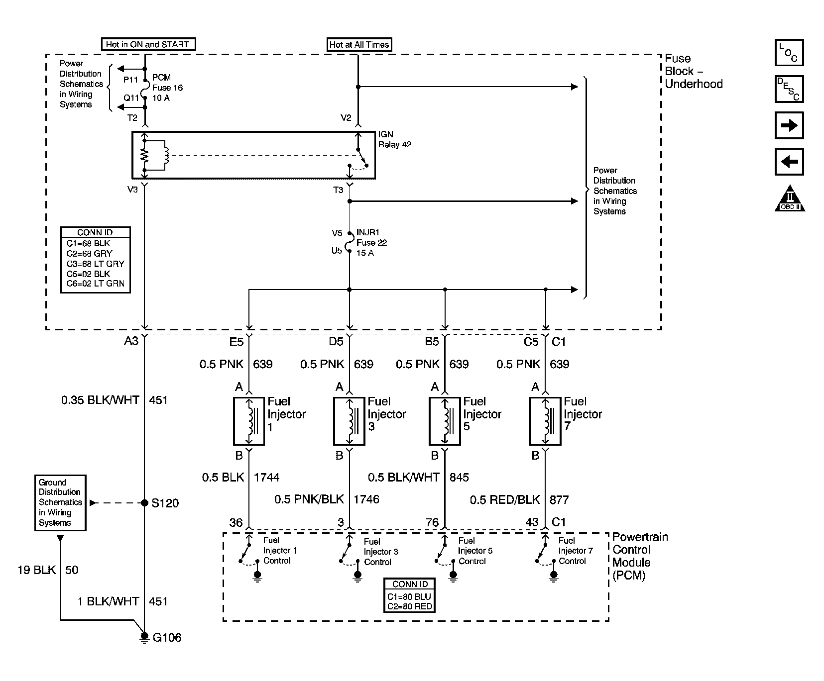
Fig 13: Fuel Controls Schematics - Fuel Injectors 1,3,5,7
GM687855Courtesy of GENERAL MOTORS CORP.
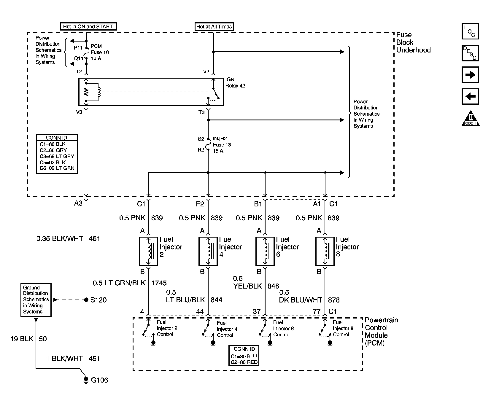
Fig 14: Fuel Controls Schematics - Fuel Injectors 2,4,6,8
GM687853Courtesy of GENERAL MOTORS CORP.
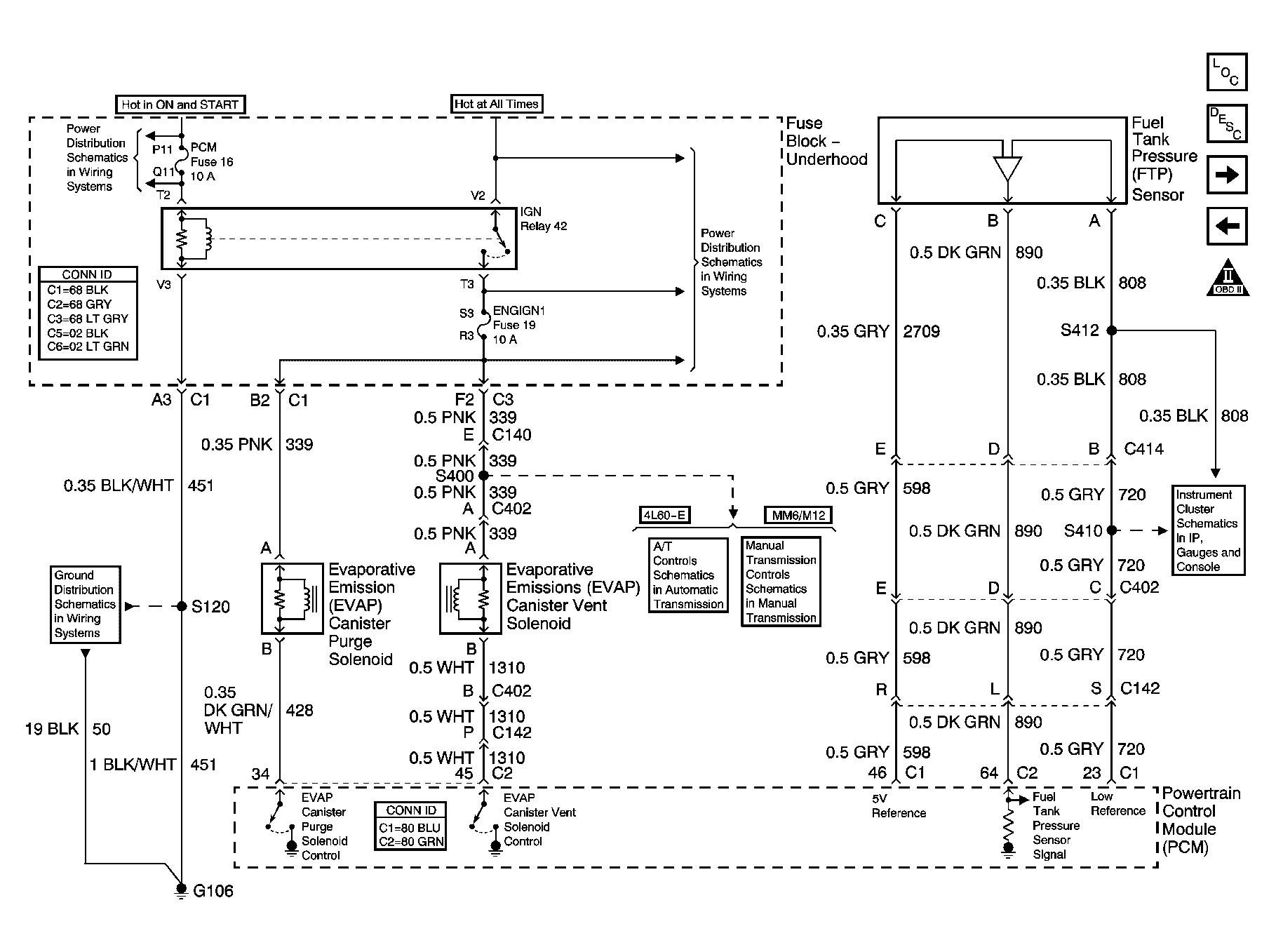
Fig 15: Fuel Controls Schematics - EVAP Controls
GM1221391Courtesy of GENERAL MOTORS CORP.
Fig 16: Device Controls Schematics
GM816074Courtesy of GENERAL MOTORS CORP.
Fig 17: Controled/Monitored Subsystem References Schematics
GM1221399Courtesy of GENERAL MOTORS CORP.
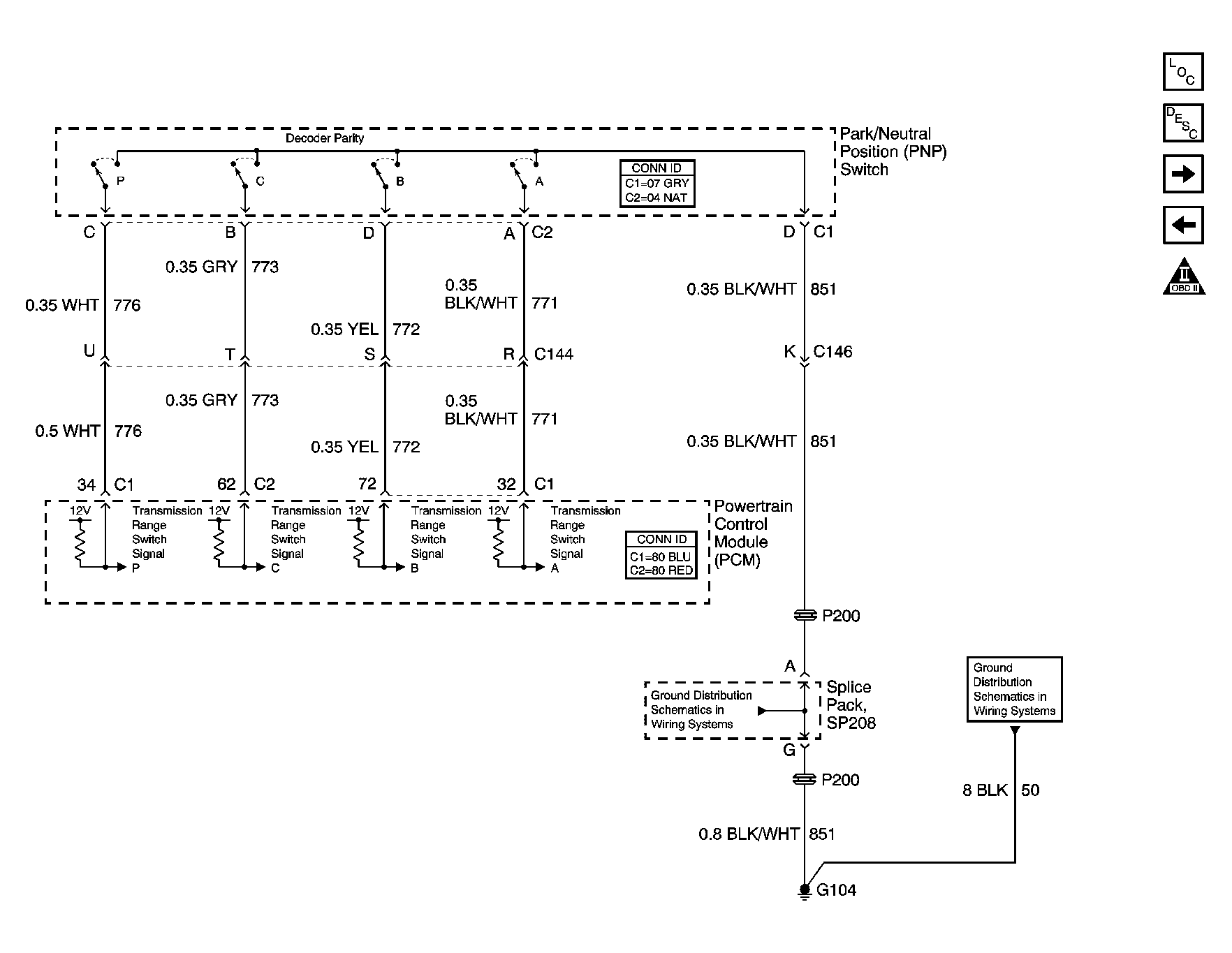
Fig 18: Transmission Controls Schematics - PNP Switch
GM688025Courtesy of GENERAL MOTORS CORP.
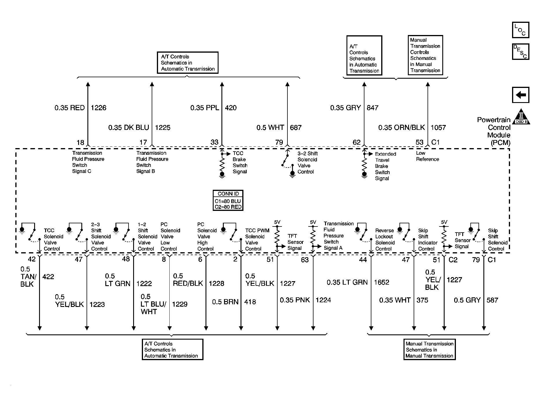
Fig 19: Transmission Controls Schematics - M/T And A/T
GM688035Courtesy of GENERAL MOTORS CORP.