LEMON Manuals: Even more car manuals for everyone: 1960-2025
Home >> Cadillac >> 2012 >> Escalade EXT >> Repair and Diagnosis >> External Pages >> Different car >> Section 587 (Front Suspension System) >> Repair Instructions >> Front Transverse Spring Replacement >> Removal Procedure
April 5, 2026: LEMON Manuals is launched! Read the announcement.

Removal Procedure

WARNING: This page is about a different car, the 2004 Chevrolet Corvette. However, it is still accessible from the selected car via links, so may be relevant.
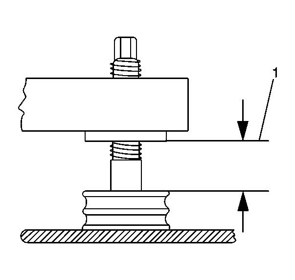
    Fig 1: Measuring The Front Spring Adjuster Bolt Gap
    GM200308Courtesy of GENERAL MOTORS CORP.
  1. Raise and support the vehicle. Refer to Lifting and Jacking the Vehicle in General Information.
  2. Remove the tire and wheel assemblies. Refer to Tire and Wheel Removal and Installation in Tires and Wheels.
  3. If the transverse spring is to be replaced, measure the front spring adjuster bolt gap (1).

    This measurement will be used in the installation procedure to setup the vehicle trim height.

  4. Fig 2: Removing/Installing Transverse Spring Using J 33432-A
    GM65337Courtesy of GENERAL MOTORS CORP.
    IMPORTANT: During this procedure, use care not to scratch the transverse spring.
  5. Install the transverse spring compressor J 33432-A  to the transverse spring. See Special Tools and Equipment .
  6. Compress the transverse spring.
  7. Fig 3: Lower Shock Absorber & Bolts
    GM65335Courtesy of GENERAL MOTORS CORP.
  8. Remove the lower shock absorber mounting bolts from one of the lower control arms.
  9. Fig 4: Stabilizer Shaft Link & Lower Control Arm
    GM172678Courtesy of GENERAL MOTORS CORP.
  10. Disconnect the stabilizer shaft link from the lower control arm.
  11. Fig 5: J 42188, Lower Ball Joint Stud & Nut
    GM340932Courtesy of GENERAL MOTORS CORP.
  12. Loosen the lower ball joint stud nut (2) on the lower control arm. Do not remove the nut.
  13. Separate the lower the ball joint from the steering knuckle using ball joint separator tool J 42188  .
  14. Fig 6: Lower Control Arm Ball Joint, Stud & Nuts
    GM168544Courtesy of GENERAL MOTORS CORP.
  15. Remove the ball joint separator tool.
  16. Remove the lower ball joint stud nut and discard.
  17. Support the lower control arms with jackstand.
  18. Fig 7: Lower Control Arm & Bolts
    GM65339Courtesy of GENERAL MOTORS CORP.
  19. Mark the position of the cam bolts for reference at reinstallation.
  20. Remove the cam bolts from the lower control arm.
  21. Remove the lower control arm.
  22. Fig 8: Transverse Spring, Transverse Spring Compressor & Bolts
    GM423106Courtesy of GENERAL MOTORS CORP.
  23. Remove the transverse spring bolts and retainers.
  24. Discard the old transverse spring bolts
  25. Remove the transverse spring from the vehicle.
  26. Remove the transverse spring compressor from the transverse spring, if the spring is to be replaced.