LEMON Manuals: Even more car manuals for everyone: 1960-2025
Home >> Cadillac >> 2012 >> Escalade EXT >> Repair and Diagnosis >> External Pages >> Different car >> Section 635 (Body Control System) >> Schematic Wiring Diagrams >> Body System Control Schematics
April 5, 2026: LEMON Manuals is launched! Read the announcement.

Body System Control Schematics

WARNING: This page is about a different car, the 2003 GMC Sierra, 2003 GMC Cab & Chassis Sierra, 2003 Chevrolet Silverado, and 2003 Chevrolet Cab & Chassis Silverado. However, it is still accessible from the selected car via links, so may be relevant.
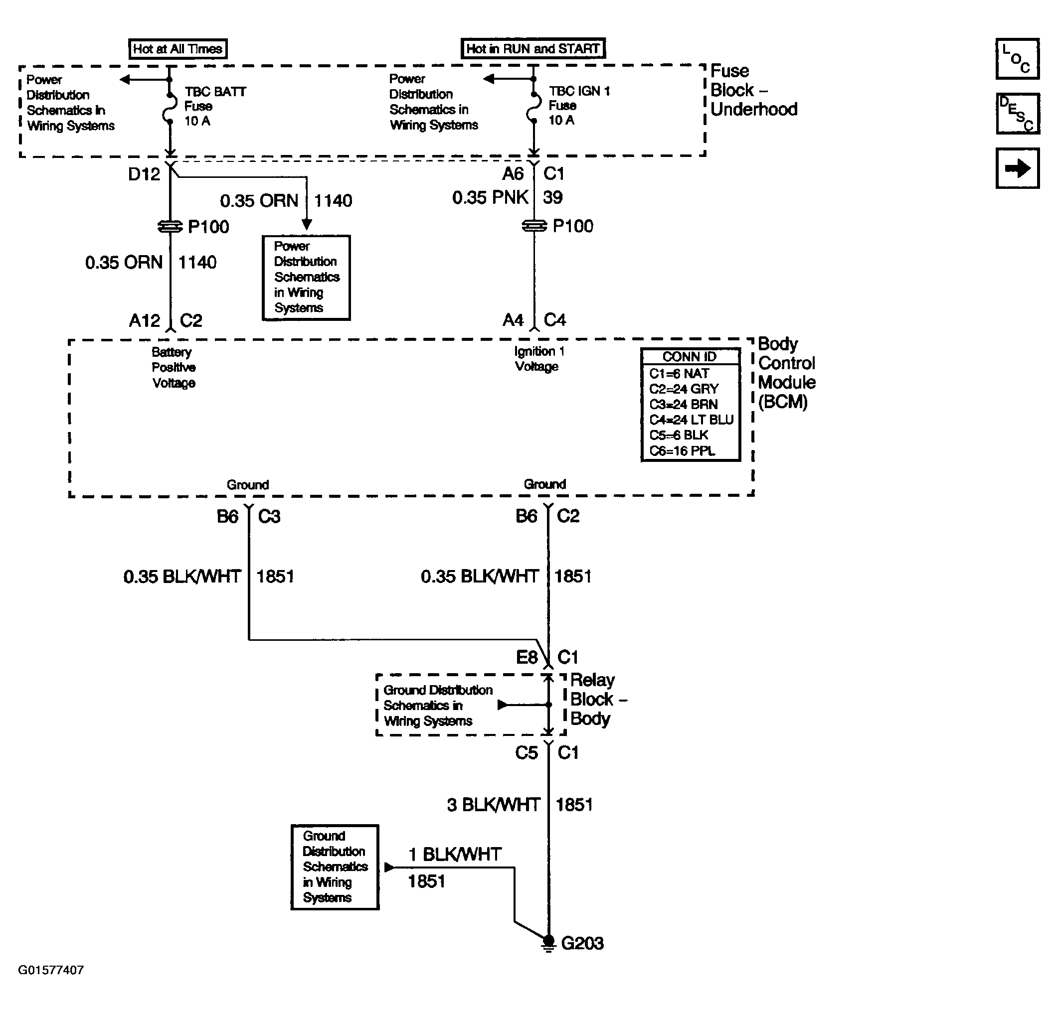
Fig 1: Body System Control Schematics (Power, Ground & Serial Data) (1 Of 2)
G01577407Courtesy of GENERAL MOTORS CORP.
Fig 2: Body Control System Schematics (Power, Ground & Serial Data) (2 Of 2)
G01577408Courtesy of GENERAL MOTORS CORP.
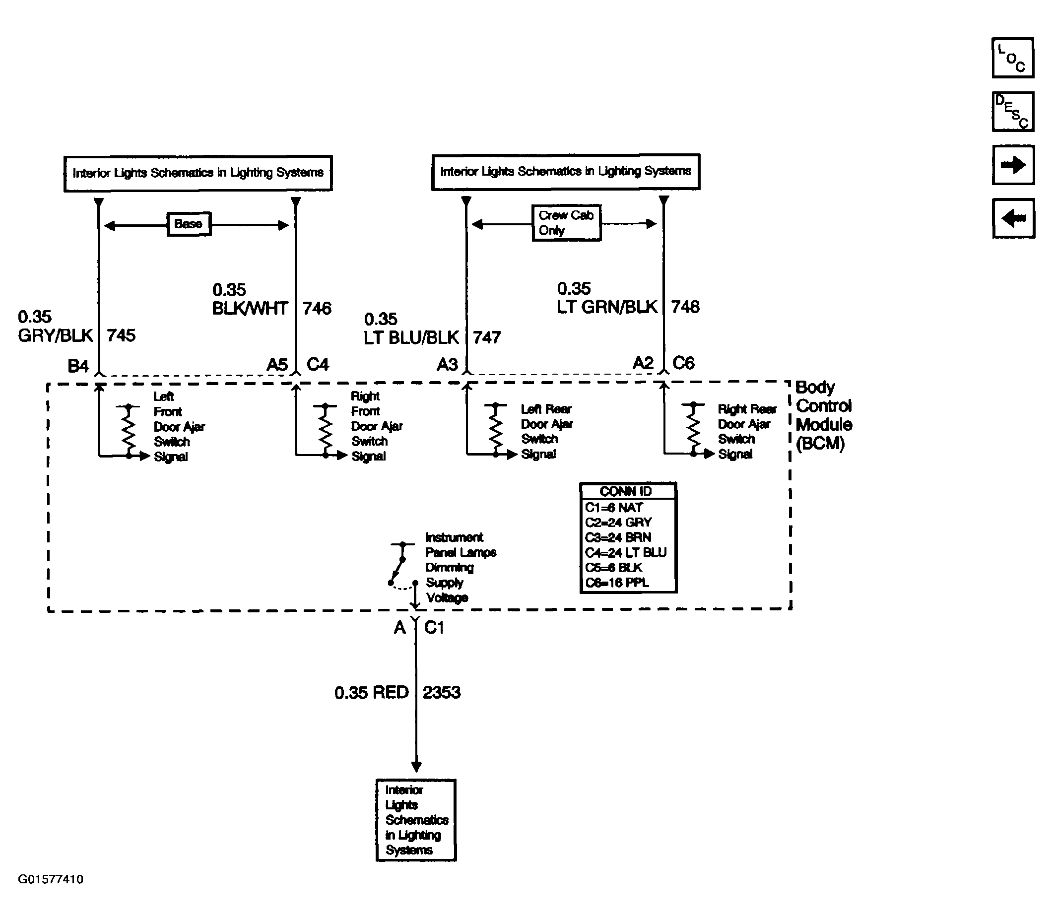
Fig 3: Body Control System Schematics (Interior Lighting Systems References) (1 Of 2)
G01577409Courtesy of GENERAL MOTORS CORP.
Fig 4: Body Control System Schematics (Interior Lighting Systems References) (2 Of 2)
G01577410Courtesy of GENERAL MOTORS CORP.
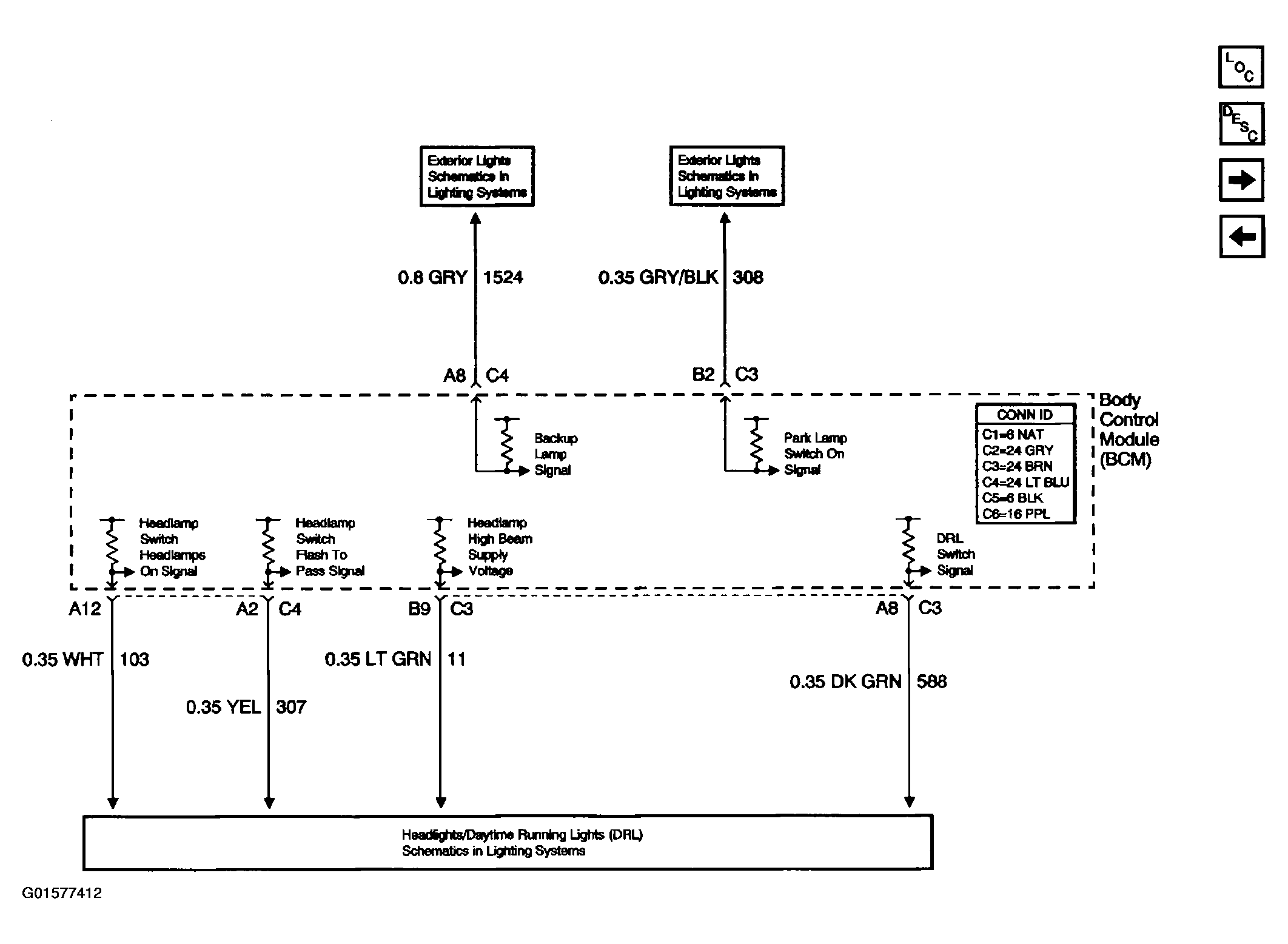
Fig 5: Body Control System Schematics (Exterior Lighting Systems References) (1 Of 2)
G01577411Courtesy of GENERAL MOTORS CORP.
Fig 6: Body Control System Schematics (Exterior Lighting Systems References) (2 Of 2)
G01577412Courtesy of GENERAL MOTORS CORP.
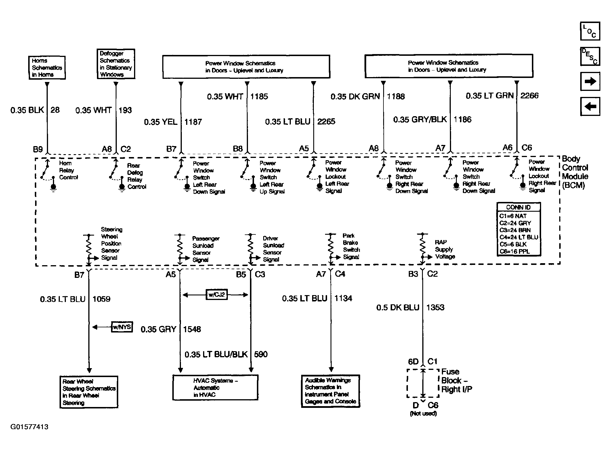
Fig 7: Body Control System Schematics (Controlled/Monitored Subsystem References) (1 Of 2)
G01577413Courtesy of GENERAL MOTORS CORP.
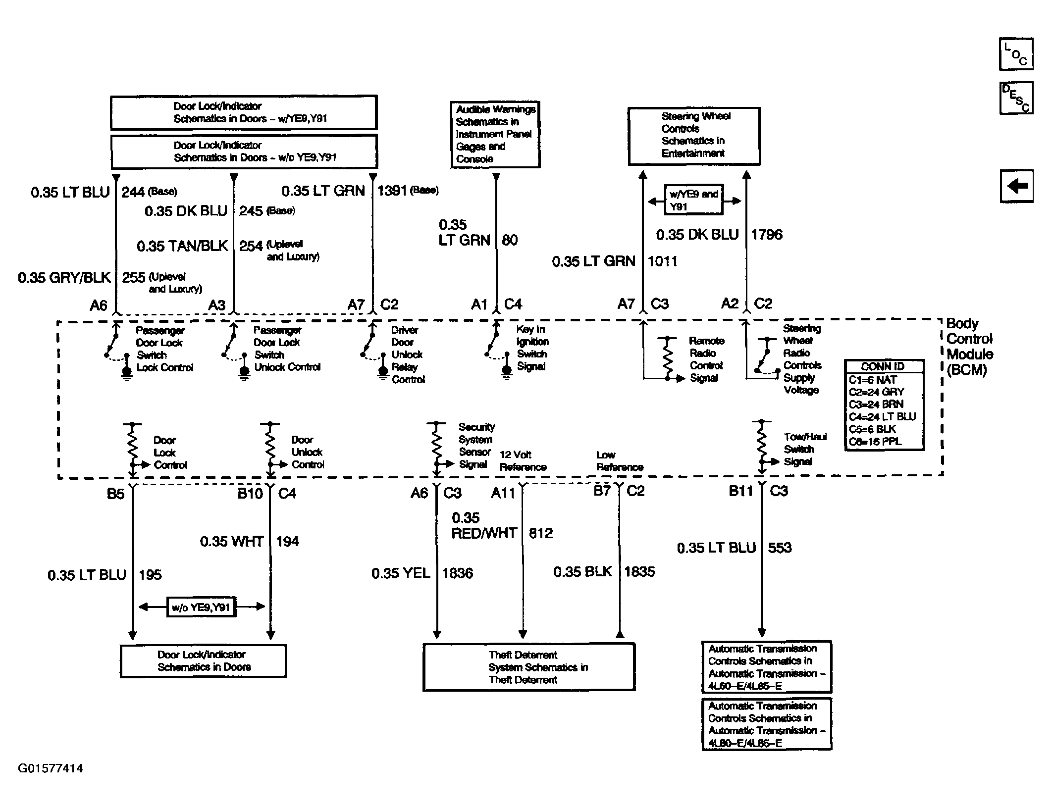
Fig 8: Body Control System Schematics (Controlled/Monitored Subsystem References) (2 Of 2)
G01577414Courtesy of GENERAL MOTORS CORP.